Классификация видов иммунитета.
Структура ответа: Классификация форм иммунитета.
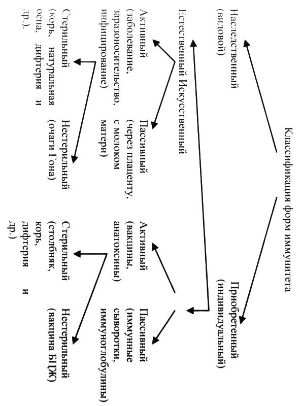
Иммунитет бывает наследственный (видовой) и приобретенный (индивидуальный). Приобретенный делится на естественный и искусственный, а каждый из них – на активный и пассивный и, в свою очередь, активный делится на стерильный и нестерильный (схема 1)

Наследственный (видовой) иммунитет – это такая невосприимчивость, которая обусловлена всей совокупностью биологических особенностей, присущих тому или другому виду живых существ и приобретенных ими в процессе эволюции, т. е. характерен для определенного вида живых существ в целом (людей, животных, птиц).
Например:
1. существуют болезни, которыми болеет человек, но не болеют животные и птицы (корь, натуральная оспа, вирусный гепатит, холера, дизентерия и др.); есть болезни, которыми болеют животные, но не болеют человек и птицы (чума крупного рогатого скота, чума свиней);
2. есть болезни, которыми болеют птицы, но не болеют человек и животные (куриная холера);
3. есть болезни, которыми болеют животные и человек, но не болеют птицы (сибирская язва, бешенство и др.).
Приобретенный иммунитет – это специфический индивидуальный иммунитет, т. е. это иммунитет, который имеется конкретно у определенных индивидуумов и к определенным возбудителям или агентам.
Механизмы его те же:
1. клеточные – специфический фагоцитоз,
2. гуморальные: антитела,
3. клеточная ареактивность – при иммунизации или после болезни (БЦЖ, очаги Гона и др.).
Иммунитет бывает стерильным и нестерильным (инфекционным, депрессивным).
Приобретенный иммунитет для большинства инфекций бывает временным, кратковременным, а для некоторых из них может быть пожизненным (корь, эпидемический паротит, краснуха и др.). Он приобретается естественным путем после перенесенного заболевания или в результате иммунопрофилактики конкретного человека и обусловлен специфическими клеточными и гуморальными факторами (фагоцитоз, антитела) или клеточной ареактивностью только к определенному возбудителю и токсину.
Если иммунитет приобретается естественным путем в процессе жизни, его называют естественным, если искусственным путем, в результате медицинских манипуляций, то его называют искусственным иммунитетом. В свою очередь каждый из них делится на активный и пассивный. Активным иммунитет называется потому, что вырабатывается самим организмом в результате попадания антигенов, возбудителей и т. п. Естественный активный иммунитет еще называют постинфекционным и он вырабатывается в организме человека после попадания возбудителей, т. е. в результате заболевания, заразоносительства или инфицирования
Искусственный активный иммунитет еще называют поствакцинальным и он вырабатывается после введения вакцин или анатоксинов.
Наконец, активный иммунитет естественный и искусственный делятся на стерильный и не стерильный. Если после перенесенной болезни организм избавился от возбудителя, то иммунитет называют стерильным (корь, краснуха, эпидемический паротит, натуральная оспа, дифтерия и др.). Если гибели возбудителя не происходит и он остается в организме иммунитет называется не стерильным. Чаще такой вариант формируется при хронических инфекциях (туберкулез, бруцеллез, сифилис и некоторые другие). Так, при туберкулезе часто после инфицирования в организме образуется очаг Гона и ми ко бактерии в организме могут сохраняться пожизненно, создавая нестерильный иммунитет. Пока в организме сохраняется возбудитель, до тех пор сохраняется иммунитет, предохраняя его от повторного заражения. С исчезновением возбудителя из организма через некоторый срок исчезает и иммунитет. Нередко нестерильный иммунитет наблюдается при риккетсиозных и вирусных инфекциях (сыпной тиф, герпес, аденовирусная инфекция и др.). Активный иммунитет вырабатывается медленно в пределах 2–8 недель. По скорости выработки необходимой напряженности иммунитета к одному и тому же антигену люди гетерогенны и эта гетерогенность выражается по формулам и кривым нормального распределения Гаусса. Всех людей по скорости выработки достаточного высокого иммунитета можно разделить на несколько групп: от очень быстрой выработки в сроки в пределах 2 недель до очень медленной – до 8 недель и более.
Активный иммунитет, хотя он вырабатывается медленно, в организме сохраняется длительно. В зависимости от вида инфекции этот иммунитет может сохраняться несколько месяцев, в пределах 1 года (холера, чума, бруцеллез, сибирская язва и др.), несколько лет (туляремия, натуральная оспа, туберкулез, дифтерия, столбняк и др.) и даже пожизненно (корь, паротит, краснуха, скарлатина и др.). Поэтому к активной искусственной иммунизации прибегают при плановой специфической иммунопрофилактике вне зависимости от наличия заболеваний согласно директивным документам Минздрава и местных органов здравоохранения (приказов, методических указаний, инструкций).
Пассивным иммунитет называют потому, что антитела в организме сами не вырабатываются, а они приобретаются организмом из вне. При естественном пассивном иммунитете антитела ребенку передаются от матери трансплацентарно или с молоком, а при искусственном – антитела вводятся людям парентерально в виде иммунных сывороток, плазмы или иммуноглобулинов. Пассивный иммунитет в организме возникает очень быстро: от 2–3 до 24 часов, но сохраняется не долго – до 2–8 недель. Скорость возникновения пассивного иммунитета зависит от способа введения антител в организм. Если иммунную сыворотку или иммуноглобулин вводят в кровь, то организм перестроится через 2–4 часа. Если антитела вводят внутримышечно, то для рассасывания и попадания их в кровь необходимо до 6–8 часов, а если вводить подкожно, то иммунитет возникнет в течение 20–24 часов. Однако каким бы способом (внутривенно, внутримышечно или подкожно) ни попали антитела в организм, пассивный иммунитет возникнет в организме значительно быстрее активного. Поэтому к искусственной пассивной иммунизации обязательно прибегают для лечения дифтерии, столбняка, ботулизма, газовой гангрены, сибирской язвы и некоторых других инфекций, при укусах змей и других ядовитых живых существ, а также для профилактики по эпидемическим показаниям: при угрозе возникновения инфекции (грипп), контактным в очагах сибирской язвы, ботулизма, кори, гриппа и других, при укусе животных для профилактики бешенства, для экстренной профилактики столбняка, газовой гангрены и при некоторых других инфекциях.
Более 800 000 книг и аудиокниг! 📚
Получи 2 месяца Литрес Подписки в подарок и наслаждайся неограниченным чтением
ПОЛУЧИТЬ ПОДАРОК