Горизонтальный перенос
Каждое живое существо на нашей планете имеет наследственную информацию, записанную в молекулах ДНК и РНК, будь то неклеточный вирус, бактерия или человек. Она состоит из набора генов, кодирующих различные признаки организмов, и передается по наследству. У вирусов это просто молекула ДНК или РНК, у бактерий – кольцевая бактериальная хромосома, основой которой является ДНК, у эукариот – ядерных организмов – это целый набор хромосом. При этом у каждого вида есть свой особый набор хромосом и, следовательно, генов, которыми он может обмениваться с особями своего вида в процессе размножения. Попадание генов разных видов друг к другу, казалось бы, исключено. Хотя все же в природе существуют гибриды между близкородственными видами, например гибрид лошади и осла – мул, белуги и стерляди – бестер. Но, как правило, подобные гибриды нежизнеспособны или бесплодны.
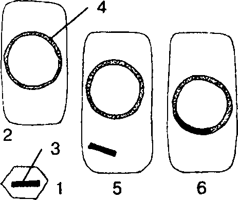
Строение ДНК и упаковка ее в хромосоме (схема с переменным масштабом):
1 – азотистые основания , соединяющие две ветви спирали (наибольшее увеличение); 2 – двойная спираль; 3 – клубочек из белков–гистонов, на которые накручивается нить ДНК; 4 – гистоны; 5 – спираль третичного уровня; 6 – петли ДНК , складывающиеся в хромосому; 7 – хромосома (наименьшее увеличение); 8 – плечо хромосомы; 9 – центромера , соединяющая плечи хромосомы
Тем не менее гены вирусов, растений, бактерий могут проявиться в геноме (наследственной информации) животных и человека, и наоборот. Как же возможен такой фантастический процесс? Объяснения этому могли появиться только начиная с 1952 года, когда американские исследователи Дж. Ледеберг и Н. Циндер открыли очень интересный процесс.
Вирус, попадая в клетку бактерии или ядерного организма, встраивает свою ДНК в ДНК «хозяина» и «заставляет» клетку делать с вирусной ДНК все новые и новые копии. Выходя из клетки, вирусные ДНК могут «прихватить» с собой некоторые гены ДНК хозяина. Эти фрагменты ДНК попадают в новые организмы, в том числе неродственные изначальному. Такой процесс получил название «горизонтального переноса», в отличие от «вертикального переноса» наследственной информации, который осуществляется от предка к потомку. Так, с помощью вирусов, фрагменты ДНК одних организмов могут попасть в другие, порой относящиеся к другому семейству, классу, типу, а то и царству.
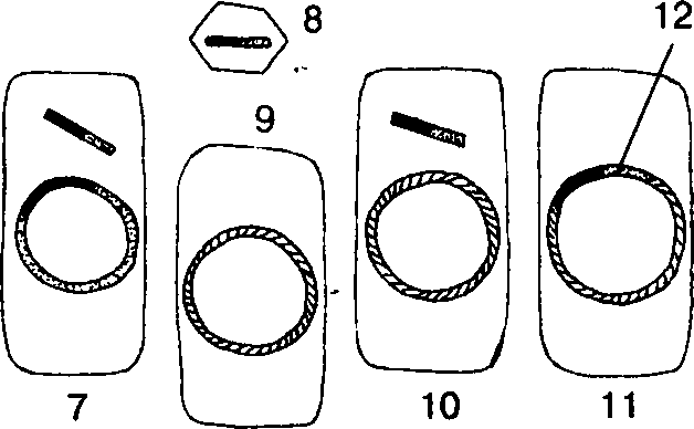
«Горизонтальный перенос» у бактерий:
I – вирус; 2 – бактерия вида А; 3 – ДНК вируса; 4 – ДНК бактерии; 5 – вирус проникает в клетку; 6 – ДНК вируса встраивается в ДНК бактерии; 7 – клетка производит новые вирусные частицы, которые «захватывают» с собой фрагменты бактериальной ДНК; 8 – новая вирусная частица; 9 – бактерия вида Б; 10 – вирус проникает в клетку;
II – ДНК вируса встраивается в ДНК бактерии, принося гены бактерии вида А; 12 – перенесённый фрагмент ДНК
Наиболее хорошо этот процесс изучен на примере бактерий. Иногда значительная часть ДНК бактерий несет встроенные чужие (как правило, вирусные) участки. Например, в ДНК бактерии Pseudomonas aeruginosa доля «чужой» наследственной информации составляет 14,8%. Не случайно считается, что горизонтальный перенос играет далеко не второстепенную роль в видообразовании у бактерий.
А насколько распространен горизонтальный перенос у животных? Этот вопрос пока не исследован. Хотя известно, что, например, у человека целые участки хромосом являются «молчащими», то есть с них не происходит никакого синтеза РНК, а значит, и белков. Возможно, среди этих «молчащих» участков и находятся вирусные и другие чужие ДНК. Также не исключено, что часть генов, которые функционируют в нас, вовсе не наши, а «чужие».
Более 800 000 книг и аудиокниг! 📚
Получи 2 месяца Литрес Подписки в подарок и наслаждайся неограниченным чтением
ПОЛУЧИТЬ ПОДАРОК