Глава 8. СИСТЕМА КИСЛОРОДНОГО ОБЕСПЕЧЕНИЯ ОРГАНИЗМА

Непрерывно идущие в каждой клетке организма окислительно-восстановительные реакции нуждаются в постоянном притоке субстратов окисления (углеводов, липидов и аминокислот) и окислителя — кислорода. В организме имеются внушительные запасы питательных веществ — углеводные и жировые депо, а также огромный запас белков в скелетных мышцах, поэтому даже сравнительно длительное (в течение нескольких суток) голодание не приносит человеку существенного вреда. А вот запасов кислорода в организме практически нет, если не считать небольшого количества, содержащегося в мышцах в форме оксимиоглобина, поэтому без его поставки человек способен выжить лишь 2–3 мин, после чего наступает так называемая «клиническая смерть». Если в течение 10–20 мин снабжение клеток мозга кислородом не восстановится, в них произойдут такие биохимические изменения, которые нарушат их функциональные свойства и приведут к скорой гибели всего организма. Другие клетки тела при этом могут и не пострадать в такой степени, но нервные клетки крайне чувствительны к недостатку кислорода. Вот почему одной из центральных физиологических систем организма является функциональная система кислородного обеспечения, и состояние именно этой системы чаще всего используется для оценки «здоровья».

Рис. 18. Транспорт кислорода у человека (направление показано стрелками)

Понятие о кислородном режиме организма. Кислород проходит в организме достаточно длинный путь (рис. 18). Попадая внутрь в виде молекул газа, он уже в легких принимает участие в целом ряде химических реакций, обеспечивающих его дальнейшую транспортировку к клеткам тела. Там, попадая в митохондрии, кислород окисляет разнообразные органические соединения, превращая их в конечном счете в воду и углекислоту. В таком виде кислород и выводится из организма.

Рис. 19. Каскад напряжений кислорода во вдыхаемом воздухе (I), в альвеолах (А), артериях (а) и венах (V) у мальчика 5 лет, подростка 15 лет и взрослого 30 лет

Что заставляет кислород из атмосферы проникать в легкие, затем — в кровь, оттуда — в ткани и клетки, где уже он вступает в биохимические реакции? Очевидно, что существует некая сила, определяющая именно такое направление перемещения молекул этого газа. Эта сила — градиент концентраций. Содержание кислорода в атмосферном воздухе намного больше, чем в воздухе внутрилегочного пространства (альвеолярном). Содержание кислорода в альвеолах — легочных пузырьках, в которых происходит газообмен воздуха с кровью, — намного выше, чем в венозной крови. Ткани содержат кислорода гораздо меньше, чем артериальная кровь, а митохондрии содержат незначительное количество кислорода, поскольку поступающие в них молекулы этого газа немедленно вступают в цикл окислительных реакций и превращаются в химические соединения. Вот этот каскад постепенно понижающихся концентраций, отражающий градиенты усилия, в результате которых кислород из атмосферы проникает в клетки тела, и принято называть кислородным режимом организма (рис. 19). Вернее, кислородный режим характеризуется количественными параметрами описанного каскада. Верхняя ступенька каскада характеризует содержание кислорода в атмосферном воздухе, который во время вдоха проникает в легкие. Вторая ступенька — содержание О2 в альвеолярном воздухе. Третья ступенька — содержание О2 в артериальной крови, только что обогащенной кислородом. И наконец, четвертая ступенька — напряжение кислорода в венозной крови, которая отдала содержавшийся в ней кислород тканям. Эти четыре ступеньки образуют три «пролета», которые отражают реальные процессы газообмена в организме. «Пролет» между 1-й и 2-й ступеньками соответствует легочному газообмену, между 2-й и 3-й ступеньками — транспорту кислорода кровью, а между 3-й и 4-й ступеньками — тканевому газообмену. Чем больше высота ступеньки, тем больше перепад концентраций, тем выше градиент, при котором кислород транспортируется на этом этапе. С возрастом увеличивается высота первого «пролета», то есть градиент легочного газообмена, второго «пролета», т. е. градиент транспорта 02 кровью, тогда как высота третьего «пролета», отражающего градиент тканевого газообмена, снижается. Возрастное уменьшение интенсивности тканевого окисления является прямым следствием снижения с возрастом интенсивности энергетического обмена.

Таким образом, усвоение кислорода организмом происходит в три стадии, которые разделены в пространстве и во времени. Первая стадия — нагнетание воздуха в легкие и обмен газов в легких — носит еще название внешнего дыхания. Вторая стадия — транспорт газов кровью — осуществляется системой кровообращения. Третья стадия — усвоение кислорода клетками организма — называется тканевым, или внутренним дыханием.

Дыхание

Обмен газов в легких. Легкие представляют собой герметичные мешки, соединенные с трахеей с помощью крупных воздухоносных путей — бронхов. Атмосферный воздух через носовую и ротовую полость проникает в гортань и далее в трахею, после чего разделяется на два потока, один из которых идет к правому легкому, другой к левому (рис. 20). Трахея и бронхи состоят из соединительной ткани и каркаса из хрящевых колец, которые не позволяют этим трубкам перегибаться и перекрывать воздухоносные пути при различных изменениях положения тела. Войдя в легкие, бронхи разделяются на множество ответвлений, каждое из которых вновь делится, образуя так называемое «бронхиальное дерево». Самые тонкие веточки этого «дерева» называются бронхиолами, и на их концах располагаются легочные пузырьки, или альвеолы (рис. 21). Количество альвеол достигает 350 млн, а их общая площадь — 150 м2. Именно эта поверхность и представляет собой площадь для обмена газами между кровью и воздухом. Стенки альвеолы состоят из одного слоя эпителиальных клеток, к которому вплотную подходят тончайшие кровеносные капилляры, также состоящие из однослойного эпителия. Такая конструкция благодаря диффузии обеспечивает сравнительно легкое проникновение газов из альвеолярного воздуха в капиллярную кровь (кислород) и в обратном направлении (углекислый газ). Этот газообмен происходит в результате того, что создается градиент концентрации газов (рис. 22). Находящийся в альвеолах воздух содержит относительно большое количество кислорода (103 мм рт. ст.) и малое количество углекислого газа (40 мм рт. ст.). В капиллярах, наоборот, концентрация углекислого газа повышена (4(5 мм рт. ст.), а кислорода понижена (40 мм рт. ст.), поскольку в этих капиллярах находится венозная кровь, собранная уже после того, как она побывала в тканях и отдала им кислород, получив взамен углекислый газ. Кровь по капиллярам протекает непрерывно, а воздух в альвеолах обновляется при каждом вдохе. Оттекающая от альвеол обогащенная кислородом (до 100 мм рт. ст.) кровь содержит сравнительно мало углекислого газа (40 мм рт. ст.) и вновь готова к осуществлению тканевого газообмена.

Рис. 20. Схема строения легких (А) и легочных альвеол (Б) А: 1 — гортань; 2 — трахея; 3 — бронхи; 4 — бронхиолы; 5 — легкие; Б: 1 — сосудистая сеть; 2, 3 — альвеолы снаружи и в разрезе; 4 — бронхиола; 5 — артерия и вена

Рис. 21. Схема ветвления воздухоносных путей (слева). В правой части рисунка приведена кривая суммарной площади поперечного сечения воздухоносных путей на уровне каждого ветвления (3). В начале переходной зоны эта площадь начинает существенно возрастать, что продолжается и в дыхательной зоне. Бр — бронхи; Бл — бронхиолы; КБл — конечные бронхиолы; ДБл — дыхательные бронхиолы; АХ — альвеолярные ходы; А — альвеолы

Рис. 22. Обмен газов в легочных альвеолах: через стенку легочной альвеолы О2 вдыхаемого воздуха поступает в кровь, а СО2 венозной крови — в альвеолу; газообмен обеспечивается разностью парциальных давлений (Р) СО2 и О2 в венозной крови и в полости легочных альвеол

Чтобы мельчайшие пузырьки — альвеолы — не спадались во время выдоха, их поверхность изнутри покрыта слоем специального вещества, вырабатываемого легочной тканью. Это вещество — сурфактант — уменьшает поверхностное натяжение стенок альвеол. Обычно оно вырабатывается в избыточном количестве, чтобы гарантировать максимально полное использование поверхности легких для газообмена.

Диффузионная способность легких. Градиент концентраций газов по обе стороны альвеолярной стенки является той силой, которая заставляет молекулы кислорода и углекислого газа диффундировать, проникать сквозь эту стенку. Однако при одном и том же атмосферном давлении скорость диффузии молекул зависит не только от градиента, но и от площади соприкосновения альвеол и капилляров, от толщины их стенок, от наличия сурфактанта и ряда других причин. Для того чтобы оценить все эти факторы, с помощью специальных приборов измеряют диффузионную способность легких, которая в зависимости от возраста и функционального состояния человека может изменяться от 20 до 50 мл О2/мин/мм рт. ст.

Вентиляционно-перфузионное отношение. Газообмен в легких происходит только в том случае, если воздух в альвеолах периодически (в каждом дыхательном цикле) обновляется, а через легочные капилляры непрерывно течет кровь. Именно по этой причине остановка дыхания, как и остановка кровообращения, в равной мере означают смерть. Непрерывный ток крови через капилляры называется перфузией, а ритмическое поступление новых порций атмосферного воздуха в альвеолы — вентиляцией. Следует подчеркнуть, что воздух в альвеолах по составу весьма существенно отличается от атмосферного: в альвеолярном воздухе гораздо больше углекислого газа и меньше кислорода. Дело в том, что механическая вентиляция легких не затрагивает наиболее глубоких зон, в которых расположены легочные пузырьки, и там газообмен происходит только благодаря диффузии, а потому несколько замедленно. Тем не менее каждый дыхательный цикл приносит в легкие новые порции кислорода и уносит избыток углекислоты. Скорость перфузии легочной ткани кровью должна точно соответствовать скорости вентиляции, чтобы между этими двумя процессами устанавливалось равновесие, иначе либо кровь будет перенасыщена углекислотой и недонасыщена кислородом, либо, наоборот, углекислота будет вымываться из крови. И то и другое плохо, так как дыхательный центр, расположенный в продолговатом мозге, генерирует импульсы, заставляющие дыхательные мышцы осуществлять вдох и выдох, под воздействием рецепторов, измеряющих содержание СО2 и О2 в крови. Если уровень СО2 в крови падает, дыхание может остановиться; если же растет — начинается одышка, человек ощущает удушье. Соотношение между скоростью кровотока через легочные капилляры и скоростью потока воздуха, вентилирующего легкие, называется вентиляционно-перфузионным отношением (ВПО). От него зависит соотношение концентраций О2 и СО2 в выдыхаемом воздухе. Если прибавка СО2 (по сравнению с атмосферным воздухом) в точности соответствует уменьшению содержания кислорода, то ВПО = 1, и это повышенный уровень. В норме ВПО составляет 0,7–0,8, т. е. перфузия должна быть несколько интенсивнее, чем вентиляция. Величину ВПО учитывают при выявлении тех или иных заболеваний бронхолегочной системы и системы кровообращения.

Если сознательно резко активизировать дыхание, делая максимально глубокие и частые вдохи-выдохи, то ВПО превысит 1, а человек вскоре почувствует головокружение и может упасть в обморок — это результат «вымывания» избыточных количеств СО2 из крови и нарушения кислотно-щелочного гомеостаза. Напротив, если усилием воли задержать дыхание, то ВПО составит менее 0,6 и через несколько десятков секунд человек почувствует удушье и императивный позыв к дыханию. В начале мышечной работы ВПО резко изменяется, сначала снижаясь (усиливается перфузия, так как мышцы, начав сокращаться, выдавливают из своих вен добавочные порции крови), а через 15–20 с стремительно увеличиваясь (активизируется дыхательный центр и возрастает вентиляция). Нормализуется ВПО только через 2–3 мин после начала мышечной работы. В конце мышечной работы все эти процессы протекают в обратном порядке. У детей подобная перенастройка системы кислородного снабжения происходит немного быстрее, чем у взрослых, так как размеры тела и соответственно инерционные характеристики сердца, сосудов, легких, мышц и других участвующих в этой реакции структур у детей существенно меньше.

Тканевый газообмен. Кровь, приносящая к тканям кислород, отдает его (по градиенту концентрации) в тканевую жидкость, а оттуда молекулы О2 проникают в клетки, где и захватываются митохондриями. Чем интенсивнее происходит этот захват, тем быстрее уменьшается содержание кислорода в тканевой жидкости, тем выше становится градиент между артериальной кровью и тканью, тем быстрее кровь отдает кислород, отсоединяющийся при этом от молекулы гемоглобина, которая служила «транспортным средством» для доставки кислорода. Освободившиеся молекулы гемоглобина могут захватывать молекулы СО2, чтобы нести их к легким и там отдавать альвеолярному воздуху. Кислород, вступая в цикл окислительных реакций в митохондриях, в конечном счете оказывается соединенным либо с водородом (образуется Н2О), либо с углеродом (образуется СО2). В свободном виде кислород в организме практически не существует. Весь образующийся в тканях углекислый газ выводится из организма через легкие. Метаболическая вода также частично испаряется с поверхности легких, но может выводиться, кроме того, с потом и мочой.

Дыхательный коэффициент. Соотношение количеств образовавшегося СО2 и поглощенного О2 называется дыхательным коэффициентом (ДК) и зависит от того, какие субстраты окисляются в тканях организма. ДК в выдыхаемом воздухе составляет от 0,65 до 1. По сугубо химическим причинам при окислении жиров ДК = 0,65; при окислении белков — около 0,85; при окислении углеводов ДК = 1,0. Таким образом, по составу выдыхаемого воздуха можно судить о том, какие вещества используются в настоящий момент для выработки энергии клетками организма. Естественно, обычно ДК принимает какое-то промежуточное значение, чаще всего близкое к 0,85, но это не значит, что окисляются белки; скорее это результат одновременного окисления жиров и углеводов. Величина ДК тесно связана с ВПО, между ними есть почти полное соответствие, если не считать периодов, когда ВПО подвергается резким колебаниям. У детей в покое ДК обычно выше, чем у взрослых, что связано со значительно большим участием углеводов в энергетическом обеспечении организма, особенно деятельности нервных структур.

При мышечной работе ДК также может существенно превышать ВПО, если в энергообеспечении участвуют процессы анаэробного гликолиза. В этом случае гомеостатические механизмы (буферные системы крови) приводят к выбросу из организма добавочного количества СО2, что обусловлено не метаболическими нуждами, а гомеостатическими. Такое добавочное выделение СО2 называют «неметаболическим излишком». Его появление в выдыхаемом воздухе означает, что уровень мышечной нагрузки достиг некоего порога, после которого необходимо подключение анаэробных систем энергопродукции («анаэробный порог»). Дети от 7 до 12 лет обладают более высокими относительными показателями анаэробного порога: у них при такой нагрузке выше частота пульса, легочная вентиляция, скорость кровотока, потребление кислорода и т. п. К 12 годам нагрузка, соответствующая анаэробному порогу, резко снижается, а после 17–18 лет не отличается от соответствующей нагрузки у взрослых. Анаэробный порог — один из важнейших показателей аэробной производительности человека, а также та минимальная нагрузка, которая способна обеспечить достижение тренировочного эффекта.

Внешнее дыхание — это проявления процесса дыхания, которые хорошо заметны без всяких приборов, поскольку воздух входит в воздухоносные пути и выходит из них только благодаря тому, что изменяется форма и объем грудной клетки. Что же заставляет воздух проникать вглубь организма, достигая, в конечном счете, мельчайших легочных пузырьков? В данном случае действует сила, вызванная разницей в давлении внутри грудной клетки и в окружающей атмосфере. Легкие окружены соединительно-тканной оболочкой, которая называется плеврой, причем между легкими и плевральным мешком находится плевральная жидкость, которая служит смазкой и герметиком. Внутриплевральное пространство герметично, не сообщается с соседними полостями и проходящими через грудную клетку пищеварительными и кровеносными трубами. Герметична и вся грудная клетка, отделенная от брюшной полости не только серозной оболочкой, но и крупной кольцевой мышцей — диафрагмой. Поэтому усилия дыхательных мышц, приводящие даже к небольшому увеличению ее объема во время вдоха, обеспечивают достаточно существенное разряжение внутри плевральной полости, и именно под действием этого разряжения воздух входит в ротовую и носовую полость и проникает далее через гортань, трахею, бронхи и бронхиолы в легочную ткань.

Организация дыхательного акта. Три группы мышц участвуют в организации дыхательного акта, т. е. в перемещении стенок грудной клетки и брюшной полости: инспираторные (обеспечивающие вдох) наружные межреберные мышцы; экспираторные (обеспечивающие выдох) внутренние межреберные мышцы и диафрагма, а также мышцы брюшной стенки. Слаженное сокращение этих мышц под управлением дыхательного центра, который расположен в продолговатом мозге, вызывает перемещение ребер несколько вперед и вверх относительно их положения в момент выдоха, грудина приподнимается, а диафрагма вжимается внутрь брюшной полости. Таким образом, общий объем грудной клетки существенно увеличивается, там создается довольно высокое разряжение, и воздух из атмосферы устремляется внутрь легких. В конце вдоха импульсация из дыхательного центра к этим мышцам прекращается, и ребра под силой собственной тяжести, а диафрагма в результате ее расслабления возвращаются в «нейтральное» положение. Объем грудной клетки уменьшается, там повышается давление, и лишний воздух из легких выбрасывается через те же трубки, через которые он входил. Если по каким-то причинам выдох затруднен, то для облегчения этого процесса подключаются экспираторные мышцы. Работают они и в тех случаях, когда дыхание усиливается или ускоряется под воздействием эмоциональных либо физических нагрузок. Работа дыхательных мышц, как и любая другая мышечная работа, требует затрат энергии. Подсчитано, что при спокойном дыхании на эти нужды расходуется чуть больше 1 % потребляемой организмом энергии.

В зависимости от того, связано ли расширение грудной клетки при нормальном дыхании преимущественно с поднятием ребер или уплощением диафрагмы, различают реберный (грудной) и диафрагмальный (брюшной) типы дыхания. При грудном типе дыхания диафрагма смещается пассивно в соответствии с изменением внутригрудного давления. При брюшном типе мощные сокращения диафрагмы сильно смещают органы брюшной полости, поэтому при вдохе живот «выпячивается». Становление типа дыхания происходит в возрасте 5–7 лет, причем у девочек оно становится, как правило, грудным, а у мальчиков — брюшным.

Легочная вентиляция. Чем крупнее организм и чем сильнее работают дыхательные мышцы, тем большее количество воздуха проходит через легкие за каждый дыхательный цикл. Для оценки легочной вентиляции измеряют минутный объем дыхания, т. е. среднее количество воздуха, которое проходит через дыхательные пути за 1 мин. В покое у взрослого человека эта величина составляет 5–6 л/мин. У новорожденного ребенка минутный объем дыхания составляет 650–700 мл/мин, к концу 1 года жизни достигает 2,6–2,7 л/мин, к 6 годам — 3,5 л/мин, в 10 лет — 4,3 л/мин, а у подростков — 4,9 л/мин. При физической нагрузке минутный объем дыхания может очень существенно увеличиваться, достигая у юношей и взрослых 100 л/мин и более.

Частота и глубина дыхания. Дыхательный акт, состоящий из вдоха и выдоха, имеет две основные характеристики — частоту и глубину. Частота — это количество дыхательных актов в минуту. У взрослого человека эта величина обычно составляет 12–15, хотя она может изменяться в широких пределах. У новорожденных частота дыхания во время сна достигает 50–60 в минуту, к годовалому возрасту снижается до 40–50, затем по мере роста происходит постепенное снижение этого показателя. Так, у детей младшего школьного возраста частота дыхания составляет обычно около 25 циклов в минуту, а у подростков — 18–20. Прямо противоположную тенденцию возрастных изменений демонстрирует дыхательный объем, т. е. мера глубины дыхания. Он представляет собой среднее количество воздуха, которое поступает в легкие за каждый дыхательный цикл. У новорожденных он очень мал — всего 30 мл или даже меньше, к годовалому возрасту увеличивается до 70 мл, в 6 лет становится свыше 150 мл, к 10 годам достигает 240 мл, в 14 лет — 300 мл. У взрослого дыхательный объем в покое не превышает 500 мл. Минутный объем дыхания представляет собой произведение дыхательного объема на частоту дыхания.

Если человек выполняет любую физическую нагрузку, ему требуется дополнительное количество кислорода, соответственно увеличивается минутный объем дыхания. У детей до 10 лет это увеличение обеспечивается в основном учащением дыхания, которое может стать в 3–4 раза более частым, чем дыхание в покое, тогда как дыхательный объем увеличивается только в 1,5–2 раза. У подростков, а тем более у взрослых увеличение минутного объема осуществляется главным образом за счет дыхательного объема, который может увеличиться в несколько раз, а частота дыхания обычно не превышает 50–60 циклов в минуту. Считается, что такой тип реакции системы дыхания более экономичен. По различным критериям эффективность и экономичность внешнего дыхания с возрастом существенно увеличивается, достигая максимальных величин у юношей и девушек 18–20 лет. При этом дыхание юношей, как правило, организовано более эффективно, чем у девушек. На эффективность дыхания и его экономичность большое влияние оказывает физическая тренированность, особенно в тех видах спорта, в которых кислородное обеспечение играет решающую роль. Это стайерский бег, лыжи, плавание, гребля, велосипед, теннис и другие виды, связанные с проявлением выносливости.

При выполнении циклической нагрузки ритм дыхания обычно «подстраивается» под ритм сокращения скелетных мышц — это облегчает работу дыхания и делает ее более эффективной. У детей усвоение ритма движений дыхательной мускулатурой происходит инстинктивно без вмешательства сознания, однако учитель может помочь ребенку, что способствует быстрейшей адаптации к такого рода нагрузке.

При выполнении силовой и статической нагрузки наблюдается так называемый феномен Линдгардта — задержка дыхания во время натуживания с последующим увеличением частоты и глубины дыхания после снятия нагрузки. Не рекомендуется использовать тяжелые силовые и статические нагрузки в тренировке и физическом воспитании детей до 13–14 лет, в том числе и по причине незрелости системы дыхания.

Спирограмма. Если на пути воздуха, входящего в легкие и выходящего из них, установить резиновые меха или легкий колокол, погруженный в воду, то благодаря действию дыхательных мышц это приспособление будет увеличивать свой объем при выдохе и уменьшать при вдохе. Если все соединения при этом будут герметичны (для герметизации ротовой полости используют специальный резиновый загубник или маску, надеваемую на лицо), то можно, прикрепив к подвижной части устройства пишущий инструмент, записать все дыхательные движения. Такой прибор, изобретенный еще в XIX в., называется спирограф, а сделанная с его помощью запись — спирограмма (рис. 23). С помощью спирограммы, сделанной на бумажной ленте, можно количественно измерить важнейшие характеристики внешнего дыхания человека.

Легочные объемы и емкости. Благодаря спирограмме можно наглядно увидеть и измерить различные легочные объемы и емкости. Объемами в физиологии дыхания принято называть те показатели, которые динамически изменяются в процессе дыхания и характеризуют функциональное состояние системы дыхания. Емкость — это не изменяемый в короткое время резервуар, в рамках которого происходит дыхательный цикл и газообмен. Точкой отсчета для всех легочных объемов и емкостей является уровень спокойного выдоха.

Легочные объемы. В покое дыхательный объем мал по сравнению с общим объемом воздуха в легких. Поэтому человек может как вдохнуть, так и выдохнуть большой дополнительный объем воздуха. Эти объемы носят название соответственно резервный объем вдоха и резервный объем выдоха. Однако даже при самом глубоком выдохе в альвеолах и воздухоносных путях остается некоторое количество воздуха. Это — так называемый остаточный объем, который не измеряется с помощью спирограммы (для его измерения используется достаточно сложная техника и расчеты, применяются инертные газы). У взрослого человека он составляет около 1,5 л, у детей — существенно меньше.

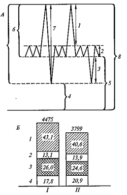
Рис. 23. Спирограмма: емкость легких и ее компоненты

А — схема спирограммы: 1 — резервный объем вдоха; 2 — дыхательный объем; 3 — резервный объем выдоха; 4 — остаточный объем; 5 — функциональная остаточная емкость; 6 — емкость вдоха; 7 — жизненная емкость; 8 — общая емкость легких; Б — объемы и емкости легких: I — юные спортсмены; II — нетренированные школьники (средний возраст 13 лет) (по А.И. Осипову, 1964). Цифры над столбиками — средние величины общей емкости. Цифры в столбиках — средние величины легочных объемов в процентах от общей емкости; цифры слева от столбиков соответствуют обозначениям на спирограмме

Жизненная емкость легких. Суммарная величина резервного объема вдоха, дыхательного объема и резервного объема выдоха составляет жизненную емкость легких (ЖЕЛ) — один из наиболее важных показателей состояния системы дыхания. Для ее измерения используются разнообразной конструкции спирометры, в которые необходимо сделать максимально глубокий выдох после максимально глубокого вдоха — это и будет ЖЕЛ. ЖЕЛ зависит от размеров тела, а потому и от возраста, а также весьма существенно зависит от функционального состояния и физической тренированности организма человека. У мужчин ЖЕЛ выше, чем у женщин, если ни те, ни другие не занимаются спортом, особенно упражнениями на выносливость. Величина ЖЕЛ существенно различается у людей разного телосложения: у брахиморфных типов она сравнительно мала, а у долихоморфных — очень велика. Принято использовать ЖЕЛ в качестве одного из показателей физического развития детей школьного возраста, а также призывников. Измерить ЖЕЛ можно только при активном и сознательном участии ребенка, поэтому данные о детях до 3-летнего возраста практически отсутствуют.

Таблица 9

Жизненная емкость легких у детей и подростков (в мл)

Пол Возраст, годы 4 5 6 7 8 10 12 15 17 Мальчики 1200 1200 1200 1400 1440 1630 1975 2600 3520 Девочки 900 1000 1100 1200 1360 1460 1905 2530 2760

Несмотря на свое название, ЖЕЛ не отражает параметров дыхания в реальных, «жизненных» условиях, так как ни при каких нагрузках человек не дышит, используя полностью резервный объем вдоха и резервный объем выдоха.

Другие емкости. То пространство легких, которое может быть занято воздухом в случае максимально полного вдоха после спокойного выдоха, называется емкость вдоха. Эта емкость складывается из дыхательного объема и резервного объема вдоха.

Резервный объем выдоха и остаточный объем, который никогда не может быть выдохнут, вместе составляют функциональную остаточную емкость (ФОЕ) легких. Физиологический смысл ФОЕ состоит в том, что она играет роль буферной зоны. Благодаря ее наличию в альвеолярном пространстве сглаживаются колебания концентраций О2 и СО2 в процессе дыхания. Это стабилизирует функцию легочного газообмена, обеспечивая равномерный поток кислорода из альвеолярного пространства в кровяное русло, а углекислого газа — в обратном направлении.

Общая емкость легких представляет собой сумму ЖЕЛ и остаточного объема, либо всех четырех объемов легких: дыхательного, остаточного, резервных объемов вдоха и выдоха. Общая емкость легких с возрастом увеличивается пропорционально размерам тела.

Управление дыханием. Дыхание — одна из тех функций организма, которые, с одной стороны, осуществляются автоматически, с другой — могут подчиняться сознанию. Автоматическое дыхание обеспечивается дыхательным центром, расположенным в продолговатом мозге. Разрушение дыхательного центра ведет к остановке дыхания. Ритмически возникающие в дыхательном центре импульсы возбуждения передаются по центробежным нейронам к дыхательным мышцам, обеспечивая чередование вдоха и выдоха. Считается, что возникновение периодических импульсов в дыхательном центре обусловлено циклическими обменными процессами в нейронах, из которых состоит эта область головного мозга. Активность дыхательного центра регулируется большим числом врожденных и приобретенных рефлексов, а также импульсами от хеморецепторов, контролирующих напряжение кислорода, углекислого газа и уровень рН в крови, и механорецепторов, отслеживающих степень растяжения дыхательных мышц, легочной ткани и множество других параметров. Рефлекторные дуги устроены таким образом, что завершение вдоха стимулирует начало выдоха, а конец выдоха является рефлекторным стимулом для начала вдоха.

В то же время все эти рефлексы могут быть на некоторое время подавлены за счет активности коры больших полушарий, которая может взять на себя управление дыханием. Такое дыхание называется произвольным. В частности, оно используется при выполнении упражнений дыхательной гимнастики, при нырянии, при попадании в условия загазованности или задымленности и в других случаях, когда требуется адаптация к редко встречающимся факторам. Однако при произвольной задержке дыхания рано или поздно дыхательный центр принимает на себя управление этой функцией и выдает императивный стимул, с которым сознание справиться не может. Это бывает тогда, когда достигнут порог чувствительности дыхательного центра. Чем более зрел и более физически тренирован организм, тем выше этот порог, тем большие отклонения в гомеостазе может выдержать дыхательный центр. Специально натренированные ныряльщики, например, способны задерживать дыхание на 3–4 мин, иногда даже на 5 мин — время, необходимое им для спуска на значительную глубину под воду и поиска там нужного объекта. Так, например, добывают морской жемчуг, кораллы, губку и некоторые другие «дары моря». У детей сознательное управление дыхательным центром возможно после прохождения полуростового скачка, т. е. после 6–7 лет, обычно именно в этом возрасте дети приучаются нырять и плавать теми стилями, которые связаны с задержкой дыхания (кроль, дельфин).

Момент рождения человека — это момент его первого вдоха. Ведь в утробе матери функция внешнего дыхания не могла осуществляться, а потребность в кислороде обеспечивалась за счет его поставки через плаценту из материнского организма. Поэтому, хотя к моменту рождения функциональная система дыхания в норме полностью созревает, она обладает целым рядом особенностей, связанных с актом рождения и условиями жизни в период новорожденности. В частности, активность дыхательного центра у детей в этот период сравнительно низкая и неустановившаяся, поэтому нередко первый вдох ребенок делает не сразу после выхода из родовых путей, а через несколько секунд или даже минут. Иногда для инициации первого вдоха достаточно простого шлепка по ягодицам ребенка, но иногда апноэ (отсутствие дыхания) затягивается, и если это длится несколько минут, может перейти в состоянии асфиксии. Будучи достаточно типичным осложнением процесса родов, асфиксия крайне опасна своими последствиями: кислородное голодание нервных клеток может привести к нарушению их нормальной работы. Вот почему нервная ткань новорожденных гораздо менее чувствительна к недостатку кислорода и избытку кислых продуктов метаболизма. Тем не менее длительная асфиксия (десятки минут) ведет к значительным нарушениям деятельности центральной нервной системы, которые могут сказываться иногда в течение всей последующей жизни.

К возрасту 2–3 лет чувствительность дыхательного центра у детей резко возрастает и становится выше, чем у взрослых. В дальнейшем она постепенно снижается, вплоть до 10–11 лет. В подростковом возрасте вновь отмечается временное увеличение чувствительности дыхательного центра, которое устраняется с завершением пубертатных процессов.

Возрастные изменения структуры и функциональных возможностей органов дыхания. С возрастом все анатомические составляющие системы дыхания увеличиваются в размерах, что и определяет во многом направленность функциональных возрастных изменений. Абсолютные характеристики анатомических просветов трахеи и бронхов, бронхиол, альвеол, общей емкости легких и ее составляющих увеличиваются приблизительно пропорционально увеличению площади поверхности тела. В то же время более высокая интенсивность метаболических, в том числе окислительных, процессов в раннем возрасте требует повышенного поступления кислорода, поэтому относительные показатели системы дыхания отражают значительно большее его напряжение у детей раннего возраста — примерно до 10–11 лет. Однако, несмотря на явно меньшую экономичность и эффективность, дыхательная система у детей работает столь же надежно, как и у взрослых. Этому благоприятствует, в частности, большая диффузионная способность легких, т. е. лучшая проницаемость альвеол и капилляров для молекул кислорода и углекислого газа.

Транспорт газов кровью

Поступивший в организм через легкие кислород должен быть доставлен к его потребителям — всем клеткам тела, находящимся иногда на расстоянии десятков сантиметров (а у некоторых крупных животных — нескольких метров) от «источника». Процессы диффузии не способны транспортировать вещество на такие расстояния с достаточной для потребностей клеточного метаболизма скоростью. Наиболее рациональным способом транспортировки жидкостей и газов является использование трубопроводов. Человек в своей хозяйственной деятельности давно и широко использует трубопроводы везде, где требуется постоянное перемещение значительных количеств воды, нефти, природного газа и многих других веществ. Для того чтобы противостоять силе гравитации, а также преодолеть силу трения в трубах, по которым течет жидкость, человек изобрел насос. А чтобы жидкость текла только в нужном направлении, не возвращаясь обратно в момент снижения напора в трубопроводе, были изобретены клапаны — устройства, похожие на двери, открывающиеся только в одну сторону.

Совершенно так же устроена и главная транспортная система человеческого организма — система кровообращения. Она состоит из труб-сосудов, насоса-сердца и многочисленных клапанов, которые обеспечивают однонаправленность движения крови через сердце и не допускают обратного тока крови в венах. Разветвляясь на мельчайшие трубочки — капилляры, кровеносные сосуды доходят практически до каждой клетки, снабжая их питательными веществами и кислородом и забирая продукты их жизнедеятельности, которые нужны другим клеткам или от которых организму необходимо избавиться. Система кровообращения у млекопитающих и человека представляет собой замкнутую сеть сосудов, через которую проходит единый ток крови, обеспечиваемый циклическим сокращением сердечной мышцы. Поскольку задача кислородного обеспечения клеток стоит первой в ряду жизненно важных задач, система кровообращения высших животных и человека специально приспособлена к наиболее эффективному газообмену в воздушной среде. Это обеспечивается разделением замкнутого сосудистого трубопровода на два изолированных круга — малый и большой, первый из которых обеспечивает газообмен между кровью и окружающей средой, а второй — между кровью и клетками тела.

Малый и большой круги кровообращения (рис. 24). Артериями называются те сосуды, которые несут кровь от сердца к органам и тканям. Они имеют прочную и довольно толстую стенку, которая должна выдерживать большие давления, создаваемые работой сердца. Постепенно разветвляясь на все более мелкие сосуды — артериолы и капилляры — артерии приносят кровь ко всем тканям. Выносящие кровь из тканей сосуды называются венами. Они формируются по мере слияния и укрупнения более мелких сосудов — капилляров и венул. Вены не отличаются мощностью своих стенок и легко спадаются, если в них нет крови, поскольку им не приходится сталкиваться с большим кровяным давлением. Чтобы ток крови не мог идти в обратном направлении, в венах имеются специальные клапаны, задерживающие кровь, если что-то заставляет ее двигаться в обратном направлении. Благодаря такой конструкции вены, протекающие через скелетные мышцы, работают в качестве дополнительных насосов: сокращаясь, мышцы выталкивают из вен кровь, а расслабляясь, позволяют новой порции крови войти в вены. Поскольку движение крови в них может быть только в одном направлении — к сердцу — такой «мышечный насос» вносит значительный вклад в кровообращение при мышечной нагрузке.

Малый круг кровообращения начинается от правого желудочка, из которого выходит легочная артерия. Практически сразу она делится на два потока — к правому и левому легкому. Достигнув легких, легочные артерии разделяются на множество капилляров, тончайшие из которых омывают отдельные легочные пузырьки (альвеолы). Именно здесь происходит обмен газами между кровью и воздухом, находящимся в альвеолах. Для облегчения газообмена легочные капилляры состоят всего из одного слоя клеток.

Рис. 24. Схема кровообращения

В отличие от всех других артерий организма, легочные артерии несут в себе бедную кислородом и насыщенную углекислым газом кровь. Такая кровь называется «венозной», поскольку она течет в венах всего тела (за исключением легочных вен). Эта кровь уже прошла по сосудам большого круга кровообращения, отдала содержавшийся в ней кислород и собрала углекислоту, от которой нужно избавиться в легких.

Выходящие из легких вены, напротив, несут «артериальную», т. е. насыщенную кислородом и практически свободную от углекислого газа кровь. Таким образом, малый круг кровообращения принципиально отличается от большого круга направлением движения насыщенной кислородом крови.

Легочные вены несут обогащенную кислородом кровь в левое предсердие. Наполнившись кровью, предсердие сокращается, проталкивая эту порцию крови в левый желудочек. Оттуда и начинается большой круг кровообращения.

Из левого желудочка выходит самый крупный в организме кровеносный сосуд — аорта. Это довольно короткая, но очень мощная трубка, способная выдерживать весьма большие перепады давлений, возникающие в процессе периодических сокращений сердца. Еще в грудной клетке аорта делится на несколько крупнейших артерий, одни из которых несут богатую кислородом артериальную кровь к голове и органам верхней части тела, а другие — к органам нижней части тела. От крупных магистральных сосудов последовательно отделяются все новые более мелкие сосуды, несущие кровь к отдельным участкам тела. Таким образом, как к головному мозгу, так и к другим важнейшим органам всегда поступает свежая, насыщенная кислородом кровь.

Единственным исключением из этого правила является печень, в которой артериальная и венозная кровь смешиваются. Однако это имеет глубокий физиологический смысл. С одной стороны, печень получает свежую артериальную кровь по печеночной артерии, т. е. ее клетки полностью обеспечиваются необходимым количеством кислорода. С другой стороны, в печень входит так называемая воротная вена, которая несет с собой питательные вещества, всосавшиеся в кишечнике. Вся кровь, оттекающая от кишечника, проходит через печень — главный орган защиты от разного рода токсинов и опасных веществ, которые могли всосаться в пищеварительном тракте. Мощные окислительные системы печени «сжигают» все подозрительные молекулы, превращая их в неопасные продукты метаболизма.

От всех органов кровь собирается в вены, которые, сливаясь, образуют все более крупные объединенные сосуды. Нижняя полая вена, собирающая кровь из нижней части тела, и верхняя полая вена, в которую стекается кровь из верхней части тела, впадают в правое предсердие, а оттуда выталкиваются в правый желудочек. С этого момента кровь вновь попадает в малый круг кровообращения.

Рис. 25. Строение сердца

Лимфатическая система. Второй транспортной системой организма является сеть лимфатических сосудов. Лимфа практически не участвует в транспорте кислорода, но имеет большое значение для распределения по организму питательных веществ (особенно — липидов), а также для защиты организма от проникновения чужеродных тел и опасных микроорганизмов. Лимфатические сосуды по своему устройству похожи на вены, они также имеют внутри себя клапаны, обеспечивающие однонаправленный ток жидкости, но, кроме того, стенки лимфатических сосудов способны к самостоятельному сокращению («лимфатические сердца»). Не имея центрального насоса, лимфатическая система обеспечивает перемещение жидкости благодаря этим лимфатическим сердцам и сокращению скелетных мышц. На пути лимфатических сосудов, особенно в местах их слияния, образуются лимфатические узлы, выполняющие главным образом защитные (иммунные) функции. Отрицательное давление, создающееся в грудной полости при вдохе, также работает в качестве силы, толкающей лимфу по направлению к грудной клетке, где лимфатические протоки впадают в вены. Таким образом, лимфатическая система объединяется с системой кровообращения в единую транспортную сеть организма.

Сердце и его возрастные особенности. Главный насос кровеносной системы — сердце — представляет собой мышечный мешок, разделенный на 4 камеры: два предсердия и два желудочка (рис. 25). Левое предсердие соединено с левым желудочком отверстием, в створе которого располагается митральный клапан. Правое предсердие соединено с правым желудочком отверстием, которое закрывает трехстворчатый клапан. Правая и левая половины сердца между собой не соединены, поэтому в правой половине сердца всегда находится «венозная», т. е. бедная кислородом кровь, а в левой — «артериальная», насыщенная кислородом. Выход из правого (легочная артерия) и левого (аорта) желудочков закрыт сходными по конструкции полулунными клапанами. Они не позволяют крови из этих крупных выходящих сосудов возвращаться в сердце в период его расслабления.

Формирование сердечно-сосудистой системы у плода начинается очень рано — уже на 3-й неделе после зачатия появляется группа клеток, обладающих периодической сократительной активностью, из которых впоследствии формируется сердечная мышца. Однако даже к моменту рождения некоторые особенности эмбрионального кровообращения сохраняются (рис. 26). Поскольку источником кислорода и питательных веществ в эмбриональном периоде являются не легкие и пищеварительный тракт, а плацента, соединенная с организмом плода через пуповину, строгого разделения сердца на две независимые половины не требуется. Кроме того, легочный кровоток еще не имеет функционального смысла, и этот участок не должен быть включен в магистральное кровообращение. Поэтому у плода имеется овальное отверстие, соединяющее между собой оба предсердия, а также специальный артериальный проток, соединяющий аорту и легочную артерию. Вскоре после рождения эти шунтирующие протоки закрываются, и два круга кровообращения начинают функционировать, как у взрослых.

Рис. 26. А — сердце плода; Б — сердце ребенка после рождения.

Стрелки показывают направление движения крови

Хотя основную массу стенок сердца составляет мышечный слой (миокард), там имеется несколько дополнительных слоев тканей, защищающих сердце от внешних воздействий и укрепляющих его стенки, которые испытывают огромное давление во время работы. Эти защитные слои называются перикард. Внутренняя поверхность полости сердца выстлана эндокардом, свойства которого позволяют не вредить клеткам крови во время сокращений. Расположено сердце с левой стороны грудной клетки (хотя в отдельных случаях бывает и иное его расположение) «верхушкой» вниз.

Масса сердца у взрослого человека составляет 0,5 % от массы тела, т. е. 250–300 г у мужчин и около 200 г у женщин. У детей относительные размеры сердца немного больше — примерно 0,7 % от массы тела. Сердце в целом увеличивается пропорционально увеличению размеров тела. За первые 8 мес после рождения масса сердца возрастает вдвое, к 3 годам — втрое, к 5 годам — в 4 раза, а к 16 годам — в 11 раз по сравнению с массой сердца новорожденного. У мальчиков сердце обычно несколько больше, чем у девочек; лишь в период полового созревания начавшие созревать раньше девочки имеют более крупное сердце.

Миокард предсердий значительно тоньше, чем миокард желудочков. Это и понятно: работа предсердий состоит в нагнетании порции крови сквозь клапаны в расположенный по соседству желудочек, тогда как желудочкам надо придать крови такое ускорение, которое заставит ее добраться до самых удаленных от сердца участков капиллярной сети. По этой же причине миокард левого желудочка в 2,5 раза толще, чем миокард правого желудочка: проталкивание крови по малому кругу кровообращения требует гораздо меньших усилий, чем по большому кругу.

Мышца сердца состоит из волокон, подобных волокнам скелетной мускулатуры. Однако наряду со структурами, обладающими сократительной активностью, в сердце представлена также другая — проводящая — структура, которая обеспечивает быстрое проведение возбуждения ко всем участкам миокарда и его синхронное периодическое сокращение. Каждый участок сердца в принципе способен к самостоятельной (спонтанной) периодической сократительной активности, однако в норме сердечным сокращением управляет определенная часть клеток, которая называется водителем ритма, или пейсмейкером, и расположена в верхней части правого предсердия (синусный узел). Автоматически вырабатываемый здесь импульс с частотой примерно 1 раз в секунду (у взрослых; у детей — значительно чаще) распространяется по проводящей системе сердца, которая включает предсердно-желудочковый узел, пучок Гисса, распадающийся на правую и левую ножки, разветвляющиеся в массе миокарда желудочков (рис. 27). Большинство нарушений ритма сердца являются следствием тех или иных поражений волокон проводящей системы. Инфаркт (омертвение части мышечных волокон) миокарда наиболее опасен в тех случаях, когда поражаются сразу обе ножки пучка Гисса.

Рис. 27. Схематическое изображение проводящей системы сердца

1 — синусный узел; 2 — предсердно-желудочковый узел; 3 — пучок Гисса; 4 и 5 — правая и левая ножки пучка Гисса; 6 — концевые разветвления проводящей системы

Сердечный цикл. Возбуждение, автоматически возникающее в синусном узле, передается на сократительные волокна предсердий, и мышцы предсердия сокращаются. Эта стадия сердечного цикла называется систолой предсердий. Она длится примерно 0,1 с. За это время порция крови, скопившейся в предсердиях, перемещается в желудочки. Сразу вслед за этим происходит систола желудочков, которая длится 0,3 с. В процессе сокращения мышц желудочков, из них под большим давлением выталкивается кровь, направляющаяся в аорту и легочные артерии. Затем наступает период расслабления (диастола), который длится 0,4 с. В это время кровь, поступившая по венам, входит в полость расслабленных предсердий.

Довольно значительная механическая работа сердца сопровождается механическими и акустическими эффектами. Так, если приложить ладонь руки к левой стороне груди, можно ощутить периодические удары, которые совершает сердце при каждом своем сокращении. Пульс (регулярные волнообразные колебания стенок крупных сосудов с частотой, равной частоте сокращений сердца) можно прощупать также на сонной артерии, на лучевой артерии руки и в других точках. Если приложить ухо или специальную трубочку для прослушивания (стетоскоп) к груди или спине, можно услышать тоны сердца, возникающие на последовательных этапах его сокращения и имеющие свои характерные особенности. Тоны сердца у детей не такие, как у взрослых, что хорошо известно врачам-педиатрам. Прослушивание сердца и прощупывание пульса — старейшие диагностические приемы, с помощью которых врачи еще в средние века определяли состояние пациента и в зависимости от наблюдаемых симптомов назначали лечение. В тибетской медицине длительное (десятки минут) непрерывное наблюдение за пульсом до сих пор служит основным диагностическим приемом. В современной медицине широко используются методы эхокардиографии (запись ультразвуковых волн, отраженных от тканей работающего сердца), фонокардиографии (запись звуковых волн, образуемых сердцем в процессе сокращений), а также спектральный анализ сердечного ритма (специальный прием математической обработки кардиограммы). Исследование вариабельности сердечного ритма у детей применяется, в частности, для оценки их адаптивных возможностей при учебной и физической нагрузке.

Рис. 28. Нормальная ЭКГ человека, полученная путем биполярного отведения от поверхности тела в направлении длинной оси сердца

Электрокардиограмма (рис. 28). Поскольку сердце представляет собой мышцу, его работа приводит к появлению биологических электрических потенциалов, всегда сопровождающих сокращение мышц любого типа. Будучи достаточно сильными, эти сокращения вызывают мощные потоки электрических импульсов, распространяющиеся по всему телу. Напряжение тока при таких сокращениях составляет около 1 тысячной доли вольта, т. е. величину, вполне достаточную для регистрации с помощью специального потенциометра. Прибор, предназначенный для регистрации электрической активности сердца, называется электрокардиографом, а записываемая им кривая — электрокардиограммой (ЭКГ). Снять потенциал для записи ЭКГ с помощью проводящих ток электродов (металлических пластин) можно с разных участков тела. В медицинской практике чаще всего используются отведения ЭКГ от двух рук либо от одной руки и одной ноги (симметрично либо асимметрично), а также ряд отведений с поверхности груди. Вне зависимости от места отведения, ЭКГ всегда имеет одни и те же зубцы, чередующиеся в одинаковой последовательности. Места отведения ЭКГ влияют только на высоту (амплитуду) этих зубцов.

Зубцы ЭКГ принято обозначать латинскими буквами Р, Q, R, S и Т. Каждый из зубцов несет информацию об электрических, а следовательно, метаболических процессах в различных участках миокарда, на разных этапах сердечного цикла. В частности, зубец Р отражает систолу предсердий, комплекс QRS характеризует систолу желудочков, а зубец Т свидетельствует о протекании восстановительных процессов в миокарде во время диастолы.

Регистрация ЭКГ возможна даже у плодов, поскольку электрический импульс сердца плода легко распространяется по токопроводящим тканям его и материнского организма. Никаких принципиальных отличий в ЭКГ детей нет: те же зубцы, та же их последовательность, тот же физиологический смысл. Различия заключены в амплитудных характеристиках зубцов и некоторых соотношениях между фазами работы сердца и отражают, главным образом, возрастное увеличение размеров сердца и повышение с возрастом роли парасимпатического отдела вегетативной нервной системы в управлении сократительной активностью миокарда.

Скорость кровотока. При каждом сокращении желудочки изгоняют всю находящуюся в них кровь. Этот объем жидкости, которая выталкивается сердцем во время систолы, называется ударным выбросом, или ударным (систолическим) объемом. Этот показатель увеличивается с возрастом пропорционально увеличению размеров сердца. Годовалые дети имеют сердце, выбрасывающее чуть больше 10 мл крови за одно сокращение, у детей от 5 до 16 лет эта величина возрастает с 25 до 62 мл. Произведение величин ударного выброса и частоты пульса показывает количество крови, проходящей через сердце за 1 мин, и называется минутным объемом крови (МОК). У годовалых детей МОК составляет 1,2 л/мин, к школьному возрасту увеличивается до 2,6 л/мин, а у юношей и взрослых достигает 4 л/мин и более.

При разнообразных нагрузках, когда потребность в кислороде и питательных веществах возрастает, МОК может весьма значительно увеличиваться, причем у детей младшего возраста главным образом за счет увеличения частоты пульса, а у подростков и взрослых также и за счет увеличения ударного выброса, который при нагрузке может повышаться в 2 раза. У тренированных людей сердце имеет обычно большие размеры, часто — неадекватно увеличенный левый желудочек (так называемое «спортивное сердце»), и ударный выброс у таких спортсменов может даже в покое в 2,5–3 раза превышать показатели нетренированного человека.

Величина МОК у спортсменов также бывает в 2,5–3 раза выше, особенно при нагрузках, требующих предельного напряжения окислительных систем в мышцах и соответственно транспортных систем организма. При этом у тренированных людей физическая нагрузка вызывает меньшее учащение сердечных сокращений, чем у нетренированных. Это обстоятельство используется для оценки уровня тренированности и «физической работоспособности при пульсе 170 уд/мин».

Объемная скорость кровотока (т. е. количество крови, проходящее через сердце за минуту) может быть мало связана с линейной скоростью продвижения крови и входящих в ее состав клеток по сосудам. Дело в том, что линейная скорость зависит не только от объема переносимой жидкости, но и от просвета трубы, по которой эта жидкость течет (рис. 29). Чем дальше от сердца, тем суммарный просвет сосудов артерий, артериол и капилляров становится все больше, поскольку при каждом очередном разветвлении суммарный диаметр сосудов увеличивается. Поэтому самая большая линейная скорость движения крови наблюдается в самом толстом кровеносном сосуде — аорте. Здесь кровь течет со скоростью 0,5 м/с. Доходя до капилляров, суммарный просвет которых примерно в 1000 раз больше площади сечения аорты, кровь течет уже с мизерной скоростью — всего 0,5 мм/с. Такой медленный ток крови через расположенные глубоко в тканях капилляры обеспечивает достаточное время для полноценного обмена газами и другими веществами между кровью и окружающими тканями. Скорость кровотока, как правило, адекватна интенсивности обменных процессов. Это обеспечивается гомеостатическими механизмами регуляции кровотока. Так, в случае избыточного снабжения тканей кислородом, капилляры сужаются, повышая периферическое сопротивление и соответственно уменьшая скорость протекания по ним крови. Напротив, если кислорода к ткани притекает мало, то в ней образуются кислые продукты обмена, и смещение рН в кислую сторону расслабляюще действует на мышцы стенок кровеносных сосудов. Их тонус снижается, сопротивление потоку крови уменьшается, и скорость кровотока возрастает. Сходным образом регулируется ток крови через участки кожи в зависимости от текущих потребностей организма: необходимости отдать избыточное тепло или удержать тепло внутри. В первом случае кожные сосуды расширяются, и кровь получает доступ в поверхностные слои кожи; во втором случае — сужаются, кожа бледнеет, что означает ограничение доставки крови в наружные слои.

Частота пульса и артериальное давление крови. Для характеристики работы сердечно-сосудистой системы чаще всего используются показатели пульса и артериального давления. У новорожденных детей частота пульса значительно выше, чем у взрослых. Даже в условиях спокойного сна она составляет в первые месяцы жизни 130–140 уд/мин, снижаясь к концу 1 года жизни до 120 уд/мин. У детей дошкольного возраста нормальная величина пульса составляет 95 уд/мин, у младших школьников — 85–90 уд/мин. К подростковому возрасту показатель пульса снижается до 80 уд/мин, а у юношей становится таким же, как у взрослых, — 72–75 уд/мин. У мужчин частота пульса обычно несколько ниже, чем у женщин.

Рис. 29. Схема соотношения между площадью поперечного сечения, давлением и средней линейной скоростью кровотока в различных отделах сердечно-сосудистой системы

При каждом ударе пульса новая порция крови выталкивается в кровеносное русло. Сокращение желудочков сердца создает давление, которое волнообразно распространяется по крупным кровеносным сосудам, постепенно угасая на уровне артериол и капилляров, суммарный просвет которых во много раз больше. Эта разница давлений является той силой, которая заставляет кровь продвигаться от сердца и магистральных сосудов к капиллярам. Стенки кровеносных сосудов — это не пассивные оболочки, сквозь которые протекает жидкость, толкаемая насосом. В стенках артерий и некоторых капилляров имеются кольцеобразные гладкие мышцы, которые управляют тонусом сосудов. Чем выше сосудистый тонус, тем сильнее зажаты артерии, тем большее сопротивление току крови они оказывают, тем выше артериальное давление крови. Артериальное давление необходимо для того, чтобы кровь доставлялась к головному мозгу, расположенному у человека намного выше уровня сердца. Сердцу необходимо своей сократительной силой преодолеть вес столба крови, равного расстоянию от выхода аорты до макушки. Ясно, что эта величина зависит от роста человека. У взрослого это расстояние намного больше, чем у ребенка, поэтому артериальное давление у детей существенно ниже, чем у взрослых.

Еще одна физиологическая причина, по которой артериальное давление должно быть достаточно высоким, — конструкция почки: для того чтобы произошла фильтрация первичной мочи, кровь должна входить в почку под большим давлением. Вот почему в большинстве случаев повышенное давление крови наблюдается у людей, страдающих нарушениями работы почек либо тонуса сосудов головного мозга.

Таблица 10

Возрастные показатели кровяного давления (в мм рт. ст.)

Возраст Систолическое давление Диастолическое давление 1 — 10 дней 60-89 30-54 11 дней — 6 мес 70-109 40-74 7 мес — 2 года 70-129 40-79 13 — 14 лет 106 64 15 — 17 лет 116 67 18 — 20 лет 117 69 20 — 30 лет 120 72 70 лет 136 78

Для измерения кровяного давления используют простой прибор, состоящий из манжеты, манометра и фонендоскопа. Манжету накладывают на плечо и нагнетают в нее воздух под контролем манометра. Манжета пережимает сосуды, проходящие вдоль плечевой кости. Когда ток крови в этих сосудах полностью прекратился, клапан манжеты потихоньку открывают и с помощью фонендоскопа на внутренней поверхности локтевого сгиба слушают характерные тоны, которые появляются только в тот момент, когда давление крови, создаваемое сердцем в момент систолы, становится достаточным (максимальным), чтобы протолкнуть кровь через полупережатую манжетой артерию. Величина показания манометра в момент появления первого тона называется систолическим давлением. По мере дальнейшего снижения давления в манжете, тоны отчетливо слышны в фонендоскоп, однако в определенный момент раздается последний тон, и больше ничего услышать не удается. Этот момент соответствует минимальному давлению, которое имеется в артериях в момент диастолы, почему и называется диастолическим. Показания манометра в этот момент также регистрируются. Разница между систолическим и диастолическим давлением называется пульсовым давлением и косвенно характеризует величину ударного выброса.

Регионарное кровообращение и его возрастные особенности. Снабжение тканей кислородом и питательными веществами зависит в большей мере не от работы магистральных сосудов, а от того, как организовано кровообращение в той или иной ткани. Мельчайшие капилляры, доставляющие кровь к отдельным клеткам, определяют эффективность снабжения этих клеток. При этом в разных тканях имеются свои специфические, регионарные особенности организации сосудистого русла и управления током крови. Общая тенденция возрастных изменений регионарного кровообращения состоит в том, что у детей капилляризация органов и тканей носит относительно избыточный характер, количество крови (в расчете на единицу массы ткани), приносимой в ткань, обычно выше, чем у взрослых, и вся система кровоснабжения отличается сниженной экономичностью. Это обусловлено большими потребностями детей в кислороде, тканей детского организма — в питательных веществах, а также повышенной чувствительностью этих тканей к содержанию в крови продуктов клеточного метаболизма. Именно по этой причине организм затрачивает чрезмерные усилия на работу системы кровообращения, сохраняя, однако, высокую ее надежность и адекватное снабжение тканей кислородом и субстратами. Наибольший интерес представляют возрастные изменения мозгового кровообращения и периферического кровообращения в конечностях.

Мозговое кровообращение. У новорожденных общая незрелость регуляторных механизмов проявляется в нестабильности и изменчивости мозгового кровотока. При этом на протяжений всего грудного возраста отмечаются наиболее высокие показатели интенсивности кровоснабжения мозга. Очевидно, это связано с особенно высокими в это время метаболическими потребностями мозга. В период от 1 года до 5 лет интенсивность мозгового кровотока постепенно снижается, причем отмечается низкий тонус крупных артериальных сосудов и повышенный тонус мелких сосудов мозга. В возрасте 5–6 лет, на фоне полуростового скачка и множества качественных изменений в функциональных проявлениях организма, перестраивается и мозговой кровоток. Объемный кровоток снижается, т. е. кровообращение становится более экономичным. Снижается также тонус мелких сосудов, тогда как крупные сосуды приобретают более характерные для взрослых параметры тонического напряжения. Это сочетается с созреванием структуры стенок кровеносных сосудов, с этого возраста приобретающих близкие к взрослым свойства. Новая организация кровообращения в головном мозге отражает новый этап организации деятельности самого мозга: его реакции на внешние стимулы становятся менее генерализованными и более экономичными. К 9 годам значительно возрастают показатели артериального давления, и это вызывает дальнейшее увеличение тонуса сосудов мозга. С началом пубертатных перестроек тонус крупных сосудов мозга достигает наивысших значений. Это, видимо, является одной из причин довольно распространенного явления — юношеской гипертонии. В этот же период вновь резко увеличивается объемная скорость кровотока, отражая неэкономичный характер регионарного кровообращения. Однако уже к 16–17 годам ситуация нормализуется, и мозговое кровообращение юношей и девушек не отличается по своим параметрам от типичной взрослой нормы. Интересно, что с возрастом мозговой кровоток становится менее чувствительным к физической нагрузке, т. е. надежность механизмов кислородного обеспечения мозга в разнообразных условиях деятельности заметно повышается.

Периферический кровоток. За период от 3 до 7 лет интенсивность периферического кровотока снижается в 1,5 раза, а к 16 годам — еще в 4 раза. Это примерно соответствует темпам возрастного снижения интенсивности обменных процессов. Поскольку значительную долю массы конечностей составляют скелетные мышцы, важным фактором возрастных изменений периферического кровотока являются возрастные преобразования состава скелетных мышц. В раннем возрасте большая часть мышечных волокон представлена теми их типами, которые нуждаются в регулярных и значительных по объему поставках кислорода. По окончании полового созревания мышцы становятся значительно менее чувствительными к кислороду, причем у мальчиков доля таких мышечных волокон гораздо больше, чем у девочек. Периферический кровоток в плече у юношей почти в 2 раза менее интенсивный, чем у девушек. В первой фазе полового созревания, когда скелетные мышцы только готовятся к дифференцировочным процессам, заметно увеличивается их капилляризация и величина периферического кровотока временно вновь возрастает. Это сочетается с увеличением потребления кислорода мышцами в процессе работы. Кажущаяся неэффективность таких реакций объясняется потребностями тканей в энергии, необходимой для серьезных морфофункциональных перестроек. Но уже к 15 годам ситуация нормализуется, объемная скорость кровотока снижается, капилляризация достигает обычного для взрослых уровня и вся организация периферического кровотока становится такой, как у взрослых.

Если мышцы конечностей выполняют статическую нагрузку, то после ее завершения наблюдается усиление кровотока (рабочая гиперемия). Кровоток может вырасти в этих условиях на 50-200 % в зависимости от возраста и уровня нагрузки. У юношей степень выраженности послерабочей гиперемии выше, чем у детей младшего школьного возраста, что связано с особенностями регуляции тонуса сосудов, а также с различиями в метаболических потребностях мышц.

Нейрогуморальная регуляция системы кислородного обеспечения. Деятельность кровообращения и дыхания регулируется вегетативной нервной системой, которая представлена двумя парами нервов: блуждающими (парасимпатический отдел) и симпатическими. Блуждающие нервы берут начало в продолговатом мозге, а симпатические отходят от шейного симпатического узла. Эти две пары нервов работают по принципу противодействия: те процессы, которые ускоряются или усиливаются одним отделом, тормозятся или ослабляются другим отделом. По отношению к деятельности кардиореспираторной системы (как часто обобщенно называют системы кровообращения и дыхания, подчеркивая их неразрывную функциональную связь), блуждающий нерв работает как источник тормозящих влияний, а симпатический как проводник активации. Активизация блуждающего нерва тормозит ритм сердца, уменьшает силу сердечных сокращений. Симпатическая импульсация учащает ритм сердца и увеличивает силу его сокращений.

Симпатические нервные окончания повышают тонус гладких мышц в стенках кровеносных сосудов, благодаря чему сужается их просвет.

Хотя к моменту рождения ребенка в сердечной мышце достаточно хорошо представлены окончания как блуждающих, так и симпатических нервных веточек, в раннем возрасте (до 2–3 лет) в регуляции сердечной деятельности преобладают влияния симпатических нервов. Это одна из причин более высокой частоты сокращений сердца у детей этого возраста. Первые признаки влияния блуждающего нерва на сердечную деятельность наблюдаются лишь в 3-4-месячном возрасте, а формирование ваготонического звена регуляции продолжается вплоть до младшего школьного возраста.

Деятельность кардиореспираторной системы находится под контролем множества безусловных рефлексов. Тепло, холод, укол и другие раздражения вызывают в окончаниях центростремительных нервов возбуждение, которое передается в центральную нервную систему и оттуда по блуждающему или симпатическому нерву достигает сердца и других исполнительных органов. К ним относятся прежде всего дыхательные мышцы, миокард и мускулатура кровеносных сосудов, определяющая их тонус и просвет. Например, рефлекторный ответ на острое охлаждение (обливание холодной водой) — задержка дыхания и брадикардия, т. е. резкое снижение частоты пульса. Оба эти эффекта вызваны воздействием блуждающего нерва.

Степень растяжения легких и грудной клетки, а также полостей сердца являются мощными рефлекторными стимулами, приводящими в действие механизмы активации сокращения дыхательных мышц и миокарда. Многочисленные баро-, хемо- и механорецепторы, расположенные в сердце, сосудах, легких, полости грудной клетки, получают информацию о физических, механических и химических свойствах внутренней среды, передают ее в центры вегетативной регуляции, расположенные в стволовых отделах мозга, и замыкающиеся там рефлекторные дуги выдают управляющие сигналы, регулирующие активность исполнительных органов кардиореспираторной системы. Так осуществляется ее саморегуляция.

Центробежные нервы вегетативной системы получают импульсы не только из продолговатого и спинного мозга, но и от вышележащих отделов центральной нервной системы, в том числе от коры больших полушарий головного мозга. Поэтому сравнительно легко вырабатываются условные рефлексы, связанные с изменением функции кардиореспираторной системы. Например, вид белого халата врача или медсестры часто у ребенка сочетается с ощущением боли (от укола, прививки, бормашины и т. п.). Боль рефлекторно вызывает учащение пульса и дыхания. Условно-рефлекторная реакция на белый халат у детей часто также сопряжена с активацией симпатического отдела и подчиняющихся ему органов. Другим характерным примером условного рефлекса может служить предстартовое состояние, которое наблюдается у спортсменов, а нередко и у школьников перед началом соревнований: еще до старта учащается сердцебиение и дыхание, увеличивается вентиляция легких и минутный объем кровообращения, т. е. организм как бы подготавливает себя к предстоящей активной физической работе. В регуляции функций кардиореспираторной системы здесь непосредственную роль играют гормоны надпочечника — адреналин и норадреналин.

В норме реакции сердца, сосудов и органов дыхания на любые внешние и внутренние стимулы согласованы между собой, что обеспечивает их высокую эффективность. Однако у детей младшего возраста степень согласованности вегетативных ответов на раздражение существенно ниже, чем у взрослых. Только к 6–7 годам, к моменту завершения полуростового скачка, достигается сравнительно высокий уровень согласованности в деятельности вегетативных функций и их соразмерность с силой действующего стимула. Именно благодаря этому обстоятельству возраст 6–7 лет является ключевым, пороговым для начала многих видов деятельности ребенка, в том числе для начала его систематического обучения. До достижения этого возраста физиологические системы организма ребенка, в том числе кардиореспираторная, функционально не готовы к разнообразным учебным и физическим нагрузкам.

Нервная регуляция деятельности кардиореспираторной системы тесно связана с гуморальной. В симпатических окончаниях нервов выделяется адреналин — тот же самый гормон, который вырабатывается мозговым веществом надпочечников. Блуждающий нерв в своих окончаниях вырабатывает ацетилхолин, вещество, имеющее противоположное адреналину действие на сердце, сосуды, дыхательные мышцы и т. п. На деятельность сердца, сосудов и органов дыхания влияют также другие гормоны. Так, тироксин, гормон щитовидной железы, ускоряет клеточный окислительный обмен и стимулирует увеличение активности сердца и дыхательной мускулатуры. Гормон вазопрессин, вырабатываемый гипофизом, влияет на тонус кровеносных сосудов, особенно в коже и почках. Активность мышц сердца и дыхательной мускулатуры зависит от содержания в крови солей калия (тормозящее влияние) и кальция (активирующее влияние).

Взаимосвязь нервной и гуморальной регуляции кардиореспираторной системы постепенно развивается в ходе индивидуального развития, достигая уровня первичной зрелости к возрасту 6–7 лет, но окончательно созревает только на завершающих этапах полового созревания.

Вопросы и задания

1. Что такое кислородный режим организма?

2. Почему кислород из воздуха двигается в сторону клеток?

3. Назовите транспортировки кислорода из атмосферы к клетке.

4. Что такое легочные объемы и емкости? Как их измерить?

5. Почему легочная вентиляция при физической нагрузке увеличивается?

6. Чем отличается малый круг кровообращения от большого?

7. Для чего и где расположены клапаны в сердечно-сосудистой системе?

8. Что такое электрокардиограмма?

9. Почему пульс у детей чаще, а артериальное давление ниже, чем у взрослых?

10. Какими нервами регулируется работа кровообращения и дыхания?

Более 800 000 книг и аудиокниг! 📚

Получи 2 месяца Литрес Подписки в подарок и наслаждайся неограниченным чтением

ПОЛУЧИТЬ ПОДАРОК