1.11. Биологическое оружие перед подписанием Конвенции 1972 г

Масштабирование производства биологических агентов и испытаний биологического оружия. Изучение поражающего действия мелкодисперсных аэрозолей агентов биологического оружия. Судьба проникших в дыхательные пути человека частиц биологического аэрозоля. Технические средства применения аэрозолей агентов биологического оружия. Аэробиология мелкодисперсного аэрозоля. Отдел специальных операций в Форт-Детрике. Насекомые как переносчики возбудителей опасных инфекционных болезней. Поражение растений. Взгляды на ведение биологической войны. Конвенция 1972 г. Уничтожение биологического оружия. Форт-Детрик после уничтожения биологического оружия.

Период разработки БО, начавшийся после завершения войны на Корейском полуострове, можно назвать аэробиологичееким. Развитие биотехнологии сулило разработчикам БО тонны бактерий и биологических рецептур. Им теперь стал понятен физический механизм инфицирования людей биологическими аэрозолями. В свою очередь, знание размеров частиц аэрозоля, способного проникать в глубокие отделы легких человека, оказало революционизирующие влияние на разработку БО. Подход к разработке биологических боеприпасов и авиационных диспергирующих приборов принципиально поменялся. Теперь такие устройства должны были создавать аэрозоль с размером частиц дисперсной фазы до 5 мкм; боеприпасы, позволявшие лишь привести человека в контакт с как можно большим количеством не потерявших жизнеспособности микроорганизмов, ушли в прошлое. Но самих разработчиков БО по-прежнему не оставляло ощущение, что они ведут еще пока какие-то предварительные эксперименты.

Масштабирование производства биологических агентов и испытаний БО. В средине 1950-х гг. технологии глубинного культивирования бактерий окончательно вытеснили простые технологии выращивания на плотных питательных средах, использовавшиеся «первопроходцами» БО в 1930-1940-х гг. Поданным СИПРИ, для успешного ведения биологической войны военный потенциал развитой страны средних размеров должен обеспечивать возможность производства, по меньшей мере, 100 партий соответствующих биологических материалов, каждой из которых должно быть достаточно для осуществления бактериологического нападения в течение года или за более короткий отрезок времени. При меньших производственных мощностях существовала опасность очень медленного пополнения израсходованных биологических агентов. Кроме того, должна обеспечиваться надежность в отношении выживаемости или сохранности биологических агентов при хранении. Это значит, что страна, решившая иметь в своем арсенале «мощное оружие бедных», должна была строить заводы по производству опасных микроорганизмов весьма значительных размеров и обеспечивать более или менее непрерывную работу большого числа ферментеров (The Problem…, 1970).

Некоторое представление об организации разработки и производства агентов БО в стране, реально готовившейся к биологической войне, дают опубликованные в открытой печати данные об арсенале Пайн Блафф, находящемся в штате Арканзас (США). Американской армией здесь было организовано производство отравляющих веществ, дымовых смесей, зажигательных составов, биологических агентов и соответствующих боеприпасов в лабораторных, полупроизводственных и ограниченных производственных масштабах, а также хранение некоторых готовых боеприпасов. Количество сотрудников — около 1800 человек. В 1966 г. площадь территории арсенала составляла около 6 тыс. га, на этой территории располагалось 945 зданий и сооружений, стоимость которых вместе с оборудованием оценивалась в те годы в 136 млн долларов. Среднее суточное потребление воды было эквивалентно потреблению города с населением 33 тыс. человек, а суточный расход — расходу города с населением 13 тыс. человек (The Problem…, 1970).

Испытания БО — неотъемлемая часть исследований по его созданию. Они были направлены, главным образом, на получение данных для оценки и подтверждения или отрицания постулатов и теорий, разрабатываемых в условиях лаборатории, расчетных параметров оборудования и математических моделей. Испытания БО, подобно всем элементам программы БО, были уникальной областью исследований. Проведение исследований по изучению поведения искусственно распыленного в атмосфере материала создаваемых биологических рецептур, в начале 1950-х гг. не представляло хорошо изученной и слаженной научной дисциплины. Данных о факторах биологического отмирания и (или) физической гибели микроорганизмов при обычных колебаниях погоды, о количестве микроорганизмов, необходимых, для развития инфекции, о способах или оборудовании для их распространения было мало, либо они вообще отсутствовали. В связи с этим военным ученым необходимо было провести большой объем исследований, имеющих цель — сбор необходимых научных и технических данных для подтверждения теоретических выводов и заполнения пробелов в знаниях, а также для определения степени уязвимости от БО личного состава вооруженных сил, боевой техники, средств индивидуальной и коллективной защиты (US Army activity… 1977).

Испытания БО в те годы подразделялись на лабораторные (небольшого масштаба) камерные (среднего масштаба) и полевые (большого масштаба). Каждую из этих категорий, в свою очередь, делили на испытания с использованием агентных имитаторов и патогенных микроорганизмов. Дальнейшая классификация производилась по объекту испытания, т. е. испытание механических устройств, таких как детекторы или пробоотборники, или испытания на живых объектах (люди, животные или растения), оценка эффективности вакцин, анатоксинов и т. п. (рис. 1.44).

Рис. 1 44. Схема испытаний БО и средств противобиологической защиты, практиковавшихся с начала 1950-х гг. в США. По US Army activity… (1977)

В США полевые испытания химического и биологическое оружия производились, главным образом, на полигоне Дагуэй (шт. Юта). Территория полигона имела площадь около 1500 кв. миль, периметр около 210 км. Число сотрудников: 1000 гражданских. 600 военных (Hersh S., 1968). В связи с недостаточными размерами полигона Дагуэй, американские военные в те годы проводили испытания БО на различных островах Тихого океана, в нейтральных водах в юго-западной части Тихого океана и в Форте Грили на Аляске. Сообщалось об испытании Соединенными Штатами БО в открытых водах юго-западной части Тихого океана, у атолла Эниветок (Emwetok) на Маршалловых островах и об опытах с насекомыми, переносчиками биологических агентов, проведенными на острове Бейкер Айленд в средней части Тихого океана в 1965 г.

В Канаде полигон для испытания химического и биологического оружия существовал при Канадском научно-исследовательском центре защиты в Саффиде (шт. Альберта). Площадь полигона составляла 1000 кв. миль.

В Великобритании общая площадь научно-исследовательского центра а Портоне вместе с испытательными отделами не превышала 10 кв. миль (The Problem…, 1970). Более масштабные опыты с агентными имитаторами в период с 1961 по 1971 г. проводились вблизи побережья Дорсета и Восточного Девона (Восточная Англия) Диспергирование бактерий осуществлялось с самолетов и аэрозольными генераторами с кораблей. Большинство имитаций массированного применения вероятным противником БО против Соединенного Королевства осуществлялось в зоне Лайм-Бея или Уэйтмут-бея с прохождением бактериального облака через Дорсетское побережье в коридоре между Бритпортом и Портлендским мысом. В ряде экспериментов бактерии рассеивались с корабля в направлении Девонского побережья между городом Торки и границей Дорсета. Имитация биологических атак авиацией происходила в районе аэропорта Тарант-Раштон (вблизи Блендсфорд-Форума). В качестве наполнителя в бактериальной рецептуре использовались микропити (Spratt В., 1999).

Изучение поражающего действия мелкодисперсных аэрозолей агентов БО. С конца 1940-х гг. эти исследования стали развиваться по двум направлениям:

первое — изучение поражающей способности аэрозолей микроорганизмов; второе — изучение поражающего действия аэрозолей биологических токсинов. Исследования последовательно масштабировались — от изучения принципиальной возможности инфицирования (поражения) людей и экспериментальных животных мелкодисперсными аэрозолями агентов БО в лабораторных условиях, до воспроизведения этого инфицирования (поражения) у экспериментальных животных на полигоне с применением специальных боеприпасов и в условиях, максимально приближенных к действиям «вероятного противника».

В 1950 гг. не существовало ни одного распылительного устройства, дававшего гомогенное облако агентов БО и которое можно было применить в масштабах полигонных испытаний. При инфицировании небольших животных в лабораторных условиях с 1951 г. применяли маломощные распылительные устройства, использующие принцип вибрации. Обычно ими были капилляры, вибрирующие под действием электромагнита. Жидкость подавалась в капилляр под давлением и «срывалась» с его вибрирующего конца в виде струек капелек одного размера. Если скорость потока жидкости и частота вибрации капилляра постоянны, то все образующиеся капли имеют одинаковый размер с небольшим геометрическим стандартным отклонением. При правильном подборе параметров работы устройства оно давало относительно гомогенный аэрозоль с частицами в пределах 5 мкм (Dark, J. М., 1951; Dimmock N. А… 1951). С конца 1950 х гг. для таких экспериментов стали использовать ультразвуковые распылители, обеспечивающие высокую концентрацию аэрозолей с диаметром частиц 5—10 мкм. Но и они имели лишь лабораторное применение. Инфицирование животных агентами БО производили только что образовавшимся аэрозолем (рис. 1.45).

Рис. 1.45. Смерть в аэрозоле. На фотографии показана чумная палочка в частичке аэрозоля. Предметное стекло было предварительно окрашено основным фуксином, после чего сотрудники Форт-Детрика дали возможность частицам аэрозоля чумы осесть на стекло и исследовали их с помощью фазово-контрастного микроскопа. Длина Y. pestis 1–3 мкм. По R. J. Goodlow и F. A. Leonard (1961)

Для более масштабных экспериментов было принято допущение, что если при распылении образуются «сопутствующие» мелкие частицы в количестве, достаточном для того, чтобы вызвать легочную инфекцию у экспериментального животного, то количество крупных частиц, задержавшихся в дыхательных путях, не будет иметь существенного значения.

Влияние дисперсности бактериального аэрозоля на развитие биологического поражения.

Прежде всего, военными исследователями было установлено, что с уменьшением размера частиц аэрозоля уменьшается инфицирующая доза возбудителя болезни и меняется патоморфология инфекционного процесса.

Сотрудники Форт-Детрика Н. A. Druett et al. (1956) продолжили исследования инфицирующей способности мелкодисперсных бактериальных аэрозолей. Они установили, что доза возбудителя чумы, требуемая для 50 %-ной летальности инфицированных животных, повышается в 2,5 раза, если размер частиц увеличивается с 1 до 12 мкм (Druett Н. A. et al., 1956а); а доза Brucella suis (один из возбудителей бруцеллеза) увеличивается в 600 раз (Druett Н. A. et al., 1956b).

Кроме того эти же ученые установили, что болезнь, возникшая при вдыхании аэрозоля спор сибирской язвы с размером частиц приблизительно в 1 мкм (размер споры), является системной с включением в патологический процесс лимфоузлов средостения. Вдыхание же 12-мкм частиц дает локализованную инфекцию с выраженным отеком лица и головы. Вдыхание частиц с Y. pestis, приближающихся по своему размеру к бактерии, ведет к первичной легочной чуме, а 12-мкм частицы дают септицемию с геморрагическим инфарктом в легких. По данным сотрудников Форт-Детрика R. J. Goodlow и F. A. Leonard (1961), инфицирование аэрозолем возбудителя туляремии с размерами частиц 1 и 8 мкм вызывало у обезьян поражения, локализовавшиеся в концевых бронхиолах. Однако в серии экспериментов, выполненных с гомогенным аэрозолем F. tularensis, состоящим из частиц диаметром 18 мкм, подопытные обезьяны погибли без признаков поражения легких. Патологические изменения свидетельствовали о распространении поражений, характерных для таких случаев, когда воротами инфекции является носоглотка, откуда инфекция распространяется в регионарные лимфатические узлы, далее следует сепсис, метастазирование инфекции и гибель экспериментального животного.

В классическом эксперименте, проведенном в начале 1960-х гг. в Форт-Детрике, данные, полученные на обезьянах и морских свинках, сравнивались с данными в экспериментах на людях. Добровольцами были члены церкви «Адвентисты Седьмого Дня». Шла «холодная война», СССР и Красный Китай были врагами США, а молодые люди из этой церкви не желали носить оружие. Вместо службы в армии им сделали предложение — поучаствовать в экспериментах по экспонированию к аэрозолям микроорганизмов. Первые испытания на людях проводились с аэрозолем Coxiella burnettii, возбудителем Ку-лихорадки (см. разд. 3.7). Затем стали использовать F. tularensis (см. разд. 3.3), а позднее — стафилококковый энтеротоксин В (см разд. 3.13).

Эти исследования были очень важны, поскольку вместе с добровольцами к аэрозолям, содержащим микроорганизмы, потенциальные агенты БО, экспонировались также обезьяны макаки-резусы и морские свинки. Таким образом, военными исследователями устанавливалось соотношение между человеческими и животными моделями, которые могли затем применяться к другим болезням, при испытании которых нельзя было использовать людей по этическим соображениям.

В табл. 1.4 в первой колонке приведены размеры аэрозольных частиц; во второй — количества клеток возбудителя туляремии, требуемых для гибели 50 % морских свинок, ингаляционная LD50, и в третьей колонке — то же для обезьян. В четвертой колонке даны количества туляремийных клеток, необходимые для инфицирования, но не гибели, человека (ID50).

Таблица 1.4. Влияние диаметра частиц на инфекционность аэрозоля возбудителя туляремии[26]

Диаметр аэрозольной частицы (мкм) | Морская свинка, LD50 | Обезьяна, LD50 | Человек ID50

1 | 2,5 | 14 | 10–52 |

6,5 | 4700 | 178 | 14-162 |

11,5 | 23000 | 672 | — |

18 | 125000 | 3447 | — |

22 | 230000 | >8500 | -

При аэрозоле, состоящем из 1 — мкм частиц, требуется всего 2,5 клетки, чтобы убить морскую свинку, 14 — обезьяну и от 10 до 52 клеток, чтобы заразить человека. Если аэрозоль состоит из 6,5-мкм частиц, для инфицирования респираторным путем требуется уже больше клеток, а в случае размера частиц от 18 до 22 мкм количество клеток возбудителя туляремии становится слишком большим, чтобы инфицировать человека. Таким образом, этот эксперимент показал, что аэрозоль биологического поражающего агента обязательно должен быть не только мелкодисперсным, но еще и находиться в очень узком диапазоне дисперсности (Patric W. III., 2001).

Такие эксперименты проводились в начале 1960-х гг. очень интенсивно. К аэрозолям микроорганизмов, агентов БО, экспонировались люди и животные, полученные результаты сопоставлялись. Они позволили военным подсчитать инфекционные дозы агентов БО для человека и, следовательно, определить количество конкретных образцов БО, необходимых для применения по конкретным целям. Но оставалась неуверенность в поражающем действии биологических аэрозолей, связанная с незнанием особенностей патогенеза при попадании патогенного микроба в организм несвойственным ему путем. Например, течение желтой лихорадки можно предсказать довольно успешно в том случае, когда заболевание связано с укусом инфицированного комара, но желтая лихорадка, обусловленная вдыханием возбудителя, может представлять собой совершенно иную болезнь.

Влияние дисперсности аэрозоля биологического токсина на развитие биологического поражения. В природе не происходит контакта человека с аэрозолями очищенных биологических токсинов. В конце 1950-х гг. военные США имели смутные представления о механизмах ингаляционного поражения такими токсинами. И это при том, что в годы Второй мировой войны в США было изготовлено только рицина 1,7 т.

После опытов W. F. Wells et al. (1948), показавших решающее значение для развития инфекции не количества вдыхаемых жизнеспособных бактерий, а величины частиц аэрозоля, прошло почти 10 лет, пока А. Корвин (А. Н. Corwin), сотрудник Университета Дж. Гопкинса (Johns Hopkins University), в опытах с тонкодисперсными порошками рицина показал такую же зависимость между размерами частиц распыленного токсина и тяжестью поражения экспериментального животного. Он обнаружил, что аэрозоль, содержащий частицы токсина с размером, не превышающим 2.1 мкм, в 2,75 раз более токсичен, чем аэрозоль, содержащий частицы токсина с размером 4,2 мкм. Уменьшение размеров частиц аэрозоля, по его мнению, представляет собой самый надежный путь к повышению его поражающей способности (цит. по Lamanna G., 1961). В те же годы был обнаружен еше ряд эффектов, значительно повысивших интерес разработчиков БО к ингаляционному применению биологических токсинов.

1. Оказалось, что верхние дыхательные пути являются проницаемыми для крупномолекулярных токсинов. Так, G. Lamanna (1961) в опытах на мышах, выполненных со столбнячным токсином, обнаружил, что закапывание в нос токсина примерно в 10 тыс. раз более эффективно, чем закапывание в рот. Для ботулинического токсина ими обнаружена та же закономерность, хотя естественным путем его проникновения в организм является алиментарный. Высокая активность этих токсинов при закапывании в нос указывала на их высокую способность к адсорбции из верхних дыхательных путей и носоглоточной области. Однако механизм данного явления G. Lamanna не понял. Нетоксичные крупномолекулярные белки такой способностью не обладали, а в доступной ему литературе он никаких объяснений своим данным не нашел.

2. Сотрудниками Форт-Детрика М. A. Cardella и J. V. Jemski показано, что при ингаляционном введении ботулинического токсина резко снижаются различия в чувствительности животных к разным его серотипам, наблюдающиеся при их парентеральном введении (цит. по Lamanna G., 1961).

3. При ингаляционном введении ботулинического токсина значительно увеличивалось количество антитоксина, необходимого для нейтрализации его действия. Например, А. М. Яковлевым (1956) было обнаружено, что при ингаляционном введении ботулинического токсина одна единица антитоксина предохраняет лишь против одной летальной дозы, при подкожном введении — против 20 летальных доз, при пероральном — против 50 летальных доз. Хотя при всех этих способах введения токсина в организм животного гибель животного наступала в результате поражения дыхательного аппарата. Сходные данные получены G. Lamanna (1961) в опытах со столбнячным токсином. Им было установлено, что введение фиксированного количества столбнячного антитоксина мышам увеличивает LD50 столбнячного токсина при внутрибрюшинном введении в 25 раз. Однако при введении того же количества токсина через нос, LD50 увеличивается только в 5 раз.

Результаты этих экспериментов тогда не нашли общепризнанного объяснения, но они открывали заманчивые перспективы перед разработчиками БО. Тем более что уже не оставалось никаких неясностей в отношении судьбы проникших в дыхательные пути частиц биологического аэрозоля.

Судьба проникших в дыхательные пути человека частиц биологического аэрозоля. В основном была установлена в конце 1940-х и вначале 1950-х гг. Исследования механизмов ингаляционного инфицирования агентами БО и разработка самого БО шли параллельными направлениями, оказывая постоянное влияние друг на друга. Они значительно обогатили наши представления об анатомии, физиологии и механике дыхательных путей. Более подробно о функционировании дыхательных путей человека можно прочитать в работах М. Н. Ситникова (1968); L. Reid (1973); В. И. Огаркова и К. Г. Гапочко (1975); P. Е. Morrow (1980).

Судьба проникших в дыхательные пути человека частиц биологического аэрозоля определяется их физико-химическими свойствами (дисперсность, гигроскопичность, электрический заряд и др.). Задержка частиц биологического аэрозоля обусловливается силой тяжести, силой инерции и броуновским движением. Эти факторы связаны с массой частиц, т. е. практически с их дисперсностью. В верхних дыхательных путях, где воздух движется с достаточно большой скоростью, основным механизмом осаждения крупных частиц являются инерция и седиментация, влияние которых прямо пропорционально плотности и квадрату диаметра частиц. С уменьшением величины частиц влияние указанных факторов ослабевает и поэтому мелкие частицы в верхних участках легких задерживаются меньше и проникают в более глубокие отделы легких, где основным механизмом их оседания будет броуновское движение.

На степень задержки частиц в дыхательных путях влияют: концентрация вдыхаемого аэрозоля, глубина и частота дыхания, носовой или ротовой тип дыхания, состояние органов дыхания. Глубина проникновения частиц биологического аэрозоля и их первичное распределение в различных отделах дыхательной системы определяется дисперсностью частиц. Только частицы величиной 1–3 мкм и меньше могут достигнуть альвеол (рис. 1.46).

Рис. 1.46. Схематическое строение легочных путей и их отношение к оседанию частиц. По М. Н. Ситникову (1968)

Степень задержки частиц определяется их размерами. Частицы размером 10 мкм и более полностью задерживаются в дыхательных путях, в то время как частицы размером 3,2 мкм — всего на 61–80 %, а 0,4 мкм — 17–33 %.

Было установлено, что через слизистую оболочку концевых бронхиол или альвеолярный эпителий микроорганизмы, используемые в качестве агентов БО, проникают в основном благодаря фагоцитозу альвеолярных макрофагов и лейкоцитов. Затем ни вместе с макрофагами и лейкоцитами попадают или непосредственно в кровеносные капилляры легкого и по ним разносятся по всему организму, либо поступают в лимфатические сосуды, оттуда в регионарные лимфатические узлы и далее, при их прорыве, в грудной проток и венозную кровь (Drinker, Hardenber, 1947).

Технические средства применения аэрозолей агентов БО. В наставлениях армии и ВВС США по защите от БО (ТМ 3-216 и AFM 355-6, 1964) перечислены три основных метода образования аэрозолей биологических агентов: с помощью генераторов, распыление и взрыв. Основная проблема при создании устройств, образующих аэрозоли, состояла в необходимости разрешения следующего технического противоречия — распыляемый материал должен иметь дисперсность, позволяющую осуществить ингаляционное инфицирование живой силы противника, но при этом он не должен подвергаться физическим воздействиям, способным вызвать гибель микроорганизмов, либо инактивацию токсинов. В опытах американских военных ученых использовались суспензии бактериальных и вирусных агентов, коллоидные растворы токсинов и сухие рецептуры с определенным размером частиц. В качестве агентного имитатора токсинов применялись препараты альбумина куриного яйца.

Аэрозольные генераторы и ВАПы. В указанных выше американских наставлениях о защите от БО объясняется, что аэрозоль может быть получен в результате пропускания жидкой рецептуры в виде гомогенной суспензии через сопло распылителя при регулируемом давлении. Такие распылительные устройства называются гидравлическими. Размер создаваемых ими частиц определяется величиной давления, размером отверстия, содержанием агента и относительной влажностью атмосферного воздуха.

Хотя конструкции сопел были весьма разнообразными, ни одно из них не давало гомогенного аэрозоля нужной для военных дисперсности. Большинство частиц получались крупными, и аэрозоль быстро оседал, не проникая в глубокие отделы легок предполагаемых жертв биологической войны (Patric W. III., 2001).

Типичным для распыления жидких рецептур такого типа в 1950 гг. было сопло РТ-12. Жидкость распылялась под давлением 1000 фунтов/кв. дюйм, проходя через отверстие с острыми краями, и ударялась в установленный перед отверстием стержень. В результате образовывалась струя в виде конуса, которая в последующем распадалась капельки. В подобном устройстве лабораторного типа удавалось достигать сравнительно высокой скорости подачи жидкости, около 300 мл/мин. В качестве жидкой среды обычно использовали желатин в фосфатном буфере. Примерно 15 % материала. распыленного таким образом, после испарения воды переходило в частицы с диаметром 5 мкм (Zentner F., 1961). Несмотря на высокую производительность, диапазон распыленных частиц был таков, что распылители гидравлического типа мало подходили для целей биологической войны. Они не «показали» себя во времена войны на корейском полуострове и уже к концу 1950-х гг. считались устаревшими.

Другой тип распылителя, исследовавшегося тогда на предмет пригодности для применения агентов БО с помощью авиации, был воздухоструйный. Принцип его действия заключался в том, что жидкость, вытекающая из сопла, деформировалась под действием потока воздуха, имеющего высокую скорость. Диапазон размеров образующихся частиц был не столь велик, как при работе с гидравлическими распылителями. Благодаря импакции на экраны, удавалось удалять крупные частицы из аэрозоля. Однако воздухоструйные распылители малопроизводительны. К тому же более 95 % частиц имеют диаметр, выше того, который необходим даже для лабораторных экспериментов по оценке опасности инфицирующих аэрозолей (Mercer Т. Т. et al., 1968).

В конце 1950-х гг. наиболее перспективными считались распылители, работающие на центробежном принципе. Они уже два десятка лет использовались для распылительной сушки биологических материалов (см. рис. 1.18), и поэтому имелось много их различных модификаций. В таких устройствах жидкость подается на быстро вращающуюся поверхность, установленную под прямым углом к оси вращения. Под действием центробежной силы образуется тонкая пленка жидкости. Поток идет в радиальном направлении, так что образующаяся пленка имеет не одинаковую толщину. Деление пленки на капельки происходит при той толщине, которую эта пленка имеет на краях поверхности. От этой толщины зависит преобладающий размер капелек. Диаметр диска в таких распылителях обычно составляет 5 см, скорость его вращения примерно 70 тыс. об/мин. Вращение осуществляется с помощью электромотора постоянного тока, либо пневматического двигателя или воздушной турбины, поэтому они издают характерный свистящий звук, за который американские исследователи прозвали их «турбинками» Обычно такие распылители используют для генерирования частиц в диапазоне 20—100 мкм, но варьируя скоростью вращения диска и составом распыляемой жидкости, исследователям удавалось получать относительно однородный аэрозоль с дисперсностью в 5 мкм. Центробежные распылители дают монодисперсные аэрозоли с геометрическим стандартным отклонением 1,1. Их недостатками являются ненадежность, низкая производительность и сложность эксплуатации (Marple V. A., Rubow К. L., 1980).

Разрабатывались комбинации воздухоструйных и центробежных распылителей. R. Fraser et al. (1963), используя вращающуюся поверхность диска в комбинации с воздушной струей, направленной по нормали к свободной поверхности жидкости, установили возможность контролируемой дезинтеграции жидкости. Реакционно-дисперсный состав образующихся капель зависел от толщины пленки жидкости, чем она тоньше, тем тоньше распыление данного устройства.

Регулирование размеров диспергируемых частиц для сухих рецептур поражающих агентов БО можно осуществлять путем регулирования дисперсности рецептуры, по крайней мере, рассуждая формально-логически. В своих показаниях, данных американским следователям, Исии утверждал, что диспергирующие авиационные приборы, снаряженные сухой рецептурой, должны быть потенциально более эффективными при боевом применении, так как в этом случае можно снарядить средство доставки большим количеством материала, можно эффективнее контролировать размер частиц, а в отношении некоторых патогенных микроорганизмов можно избежать губительного воздействия некоторых элементов атмосферных условий. Сам он «довести до ума» такие устройства не успел, ими занялись его новые хозяева (см. FM 3-10; NWIP 36-2; AFM 355-4; FMFM 11-3, 1966). Но оказалось, что и в этом вопросе Исии оказался пустым теоретиком и выдавал желаемое за действительность.

Тонкодисперсный порошок получить очень трудно, еще труднее его сохранить. Такой порошок легко слеживается и образует агломераты частиц значительно большего размера, чем это нужно для инфицирования личного состава вооруженных сил противника. К тому же создание авиационных распыляющих устройств таких порошков упирается вряд сложных технических проблем. В момент распыления воздушным потоком, по мере того как частицы поднимаются вверх из порошка, последний уплотняется воздушным потоком и принимает округлую обтекаемую форму. Для тою чтобы возобновить удаление частиц из слоя порошка, необходимы уже более высокие скорости воздушного потока. Исследования процессов диспергирования тонкодисперсных порошков уже после окончания Второй мировой войны потребовали почти три десятилетия экспериментов и теоретических проработок, некоторые первые обобщения можно прочитать в работе J. М. Hidy (1984).

В самых простых устройствах для распыления тонкодисперсных порошков поток воздуха пропускается через перемешиваемый слой порошка, и частицы уносятся воздушным потоком в аэрозольную камеру. При использовании таких устройств трудно контролировать концентрацию частиц и их распределение по размеру. С более сложными устройствами читатель может ознакомиться в специальной литературе. Их основное отличие от простых устройств заключается в использовании различных подходов к дозированию распыляемого порошка и к его предварительному дроблению перед распылением (см. работы Fontanges R., Founier J, 1971; (Viarple V A., Rubow K. L., 1980; Hidy J. М., 1984). К 1960-м гг. конструирование различных систем для применения сухих рецептур возбудителей опасных инфекционных болезней стало приоритетным направлением военно-биологической программы США.

По данным С. Херша (1970), значительная часть важнейших исследовании в области средств применения биологических рецептур авиацией была осуществлена отделом прикладных наук компании «Литтон индастриз инк» (Litton Industries Inc.). В одном из отчетов о разработке этой компанией на протяжении четырех лет ВАПа А/В 454-4 для распыления сухой рецептуры говорится, что «целью проводимых работ было проектирование, изготовление и испытание распылителя — автоматически действующего агрегата, представляющего собой контейнер, предназначенный для наружной подвески на самолетах F-100, F-105 и F-4C. Испытания показали, что этот распылитель, как и проектировалось, по механическим качествам, а также в отношении электропитания и конструктивных решений удовлетворительно увязывается с самолетом-носителем; судя по результатам, эффективность распыления рецептуры также удовлетворительна». Упомянутый отчет датирован февралем 1966 г. Примерно в это же время компания «Литтон индастриз инк» работала над проектом «Распыления сухих биологических рецептур при сверхзвуковых скоростях».

В одном из докладов компании Министерству обороны за январь 1967 г. излагались результаты испытания, проведенного на самолете F-4C, имеющем максимальную скорость 2600 км/ч. В отчете, в частности, говорилось, что «были проведены ограниченные летные испытания, в ходе которых летчик-испытатель не выявил отрицательных характеристик… Прибор хорошо распылял рецептуру биологического агента над водной поверхностью при скорости самолета 654 км/ч (350 миль/ч) с наполненным баком, а также при скоростях самолета 561, 795 и 935 км/ч (300, 425 и 500 миль/ч), когда содержимое бака было в основном израсходовано». В отчете отмечалось также, что «распылитель был бы полезен в случае, если США примут решение осуществить скрытное внезапное биологическое нападение», не оставляя улик. Прибор «обязательно разрушался при ударе о воду, и на воде не удавалось обнаружить плавающих его частей или обломков». Американские разработчики БО придерживались принципа генерал? Исии — применение БО не должно оставлять материальных «следов» в виде фрагментов боеприпасов (см. керамическую бомбу Исии в разд. 1.9 и «меловую бомбу» в разд. 1.10). Указанная компанией «Литтон индастриз инк» скорость самолета, применяющего сухие рецептуры агентов БО диспергированием из подвесных авиационных приборов, в точности соответствует той, о которой дали показания Комиссии Нидхема пилоты американских самолетов, сбитых в 1952 г. русскими истребителями (см. разд. 1.10 и приложение Б).

В 1960 гг. значительное развитие получили работы, связанные с изучением технических средств применения жидких биологических рецептур. Продолжались исследования по разработке ВАПов для применения жидкой рецептуры агента БО. Среди прочих перед разработчиками ставилась цель уменьшить заражение самолета, с которого распыляется такая рецептура, что, судя по показаниям американских летчиков, данных Комиссии Нидхема, было проблемой во время войны на Корейском полуострове.

Учитывая потери самолетов, применявших БО во время войны на Корейском полуострове, и последующие откровенные показания их пилотов в плену, Министерства обороны США в 1960-м г. дало заказ одному из основных американских предприятий по производству авиационных и космических средств «Аэроджет дженерал аэронтикал дивижн» в Дауни (штат Калифорния) на разработку для армии нового беспилотного самолета, предназначенного для доставки к цели и распыления химических и биологических средств. Первоначально спроектированные для использования в целях разведки поля боя, эти беспилотные самолеты в дальнейшем были приспособлены для снаряжения рецептурой биологического агента в количестве 90 кг и доставки ее на расстояние свыше 180 км. К подобным средствам доставки относится, например, многоцелевой телеуправляемый самолет MQM58A, созданный в конце 1950-х гг. для химической службы армии США. Этот радиоуправляемый аппарат весом 0,5 т имел радиус действия 185 км. Вес его боевой части составлял около 100 кг.

В марте 1967 г. ученые в Форт-Детрике завершили программу по разработке головной части тактической ракеты «Сержант» (дальность полета до 160 км), снаряжаемой биологическими средствами. В уставе армии США FM 3-10 «Применение химического и биологического оружия», изданном в марте 1966 г., отмечается, что типичная биологическая ракетная система включает головную часть, которая может быть раскрыта на заранее определенной высоте. При этом из головной части освобождаются биологические бомбочки (bomblets), имеющие на своей поверхности лопасти, которые придают им вращательное движение во время падения. Благодаря такому приспособлению обеспечивается их рассеивание по территории противника (см. «Боеприпасы»), В раннем издании устава FM 3-10, относящемся к февралю 1962 г., не содержится данных о возможности применения биологических средств с помощью ракет.

Боеприпасы. Специалисты армии США продолжали работу над авиационными кассетными бомбами, предназначенными для применения агентов БО, а также совершенствовали субэлементы для таких бомб и головных частей ракет. Создавались боеприпасы для боевого применения жидких и сухих рецептур микроорганизмов и токсинов на больших площадях. Чтобы в самых общих чертах понять их конструктивные особенности, необходимые экспертам, участвующим в расследовании преступлений с применением БО, рассмотрим такие боеприпасы с той обстоятельностью, которую позволяют описания к патентам.

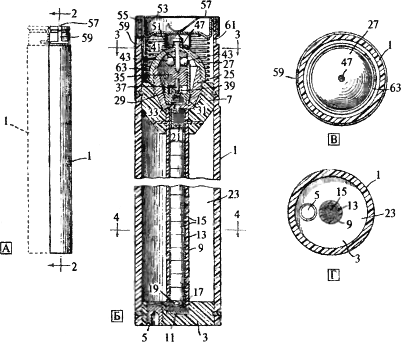
К 1955 г. была создан и запатентован боеприпас для взрывного диссеминирования рицина и ДДТ (US3207071). По форме и размерам он соответствовал М114 — субэлементу кассетного боеприпаса M33 (см. рис. 1.38 и 1.39). Но отличался от него тем, что диспергирование биологической (химической — для ДДТ) рецептуры производилось не расширением сжатого газа, а взрывом заряда, расположенного по оси боеприпаса. Степень дисперсности агента регулировалась силой взрыва. Емкость вокруг заряда заполнялась жидкостью или суспензией частиц нужной дисперсности в специальной жидкости. Жидкость должна была быть более летучей, чем агент, и не разрушать контейнер. Обычно для твердых токсических агентов (рицин) в качестве такой жидкости использовали четыреххлористый углерод. Взрывное распыление такой суспензии давало значительно лучшие результаты, чем распыление сухого порошка рицина или его водного раствора (рис. 1.47).

Рис 1.47. Боеприпас для взрывного диссеминирования рицина или ДДТ.А. Общий вид боеприпаса. Б. Продольное сечение боеприпаса по линии 2–2 (см. А). В. Поперечное сечение боеприпаса по линии 3–3 (см. Б). Г. Поперечное сечение боеприпаса по линии 4–4 (см. Б). По патенту US3207071

Сам цилиндр (1) был выполнен из фенолформальдегидной пластмассы, проклеенной крафт-бумагой. Длина цилиндра 21 5/6 дюйма, наружный диаметр 1 11/16 дюйма. Пропорции подобраны экспериментально, как обеспечивающие наилучшую диссеминацию агента. Нижний конец боеприпаса закрыт нижней пробкой (3), снабженной заполняющим отверстием (5). Верхняя пробка (7) определяет верхнюю границу полости бомбы. Пробки (3) и (7) сделаны из слоистой резины и зацементированы в оболочку (1). Пространство между пробками занимает взрывная труба (13), закрытая в ее нижнем конце алюминиевым диском (11). Труба выполнена из латуни и содержит гранулы взрывчатого вещества тетрила (15).

Верхний конец взрывной трубы имеет запирающее устройство (17) и войлочную пробку (19). Детонатор (21) вставляется в верхний конец взрывной трубы. Когда для каких-то целей требуется меньше тетрила, то освободившееся во взрывной трубе пространство заполняют фетровыми прокладками.

Основная полость цилиндра (23) заполняется суспензией рицина или ДДТ в четыреххлористом углероде. Верхний конец бомбы включает высокочувствительный всепогодный взрыватель, описанный ниже. Оболочка взрывателя (25) вкручивается в верхнюю пробку (7) и содержит колпачок (27). В пределах оболочки имеется цилиндр капсюля (29), который содержит капсюль (31), удерживаемый на поверхности капсюльной прокладки (33). В пределах цилиндра имеются поджигающий ударник (35), несущий поджигающий боек (37), который удерживается на безопасном расстоянии от капсюля пружиной ударника (39). Ударник (35) включает в себя поперечный канал (41), в который вмонтированы шары безопасности (43). В не боевом состоянии, показанном на рисунке, шары удерживаются снаружи посредством чеки (47), предотвращающей движение ударника в направлении капсюля. Чека-защелка (51) прижимается пружиной, расположенной вокруг нее. Герметизирующий колпак (53) закрывает верхний конец корпуса цилиндра (1), и он снабжен герметизирующей прокладкой (53). Боевая пружина (63) удерживается в сжатом состоянии колпаком (53). Кассетная бомба собирается через кластеризацию таких цилиндров-субэлеметов с использованием зажимов (59), расположенных на боковой стороне цилиндра. Когда кластер цилиндров фрагментируется, зажимы (59) высвобождаются, позволяя пружине (63) отжать вверх колпак (53). Чека извлекается, позволяя шарам (43) перекатиться во внутрь. Воспламеняющий ударник (35) высвобождается и движется в направлении капсюля (31) и наоборот. Под воздействием удара о поверхность, чека будет выбиваться, вследствие инерции движения цилиндра (29) или ударника (35). Воспламенение капсюля (31) вызывает подрыв детонатора (21) и затем тетрила (15).

Подрыв такого боеприпаса, снаряженного суспензией рицина, приводил к образованию частиц рицина со средним размером в пределах 7 мкм и к их распространению до 50 ярдов от места взрыва.

Боеприпас, запатентованный в мае 1958 г. в США (US3188954), представлял собой другое направление эволюции субэлемента M114. В нем для диспергирования сухой биологической рецептуры использовалась не энергия взрыва тетрила, а энергия, образующаяся при переходе сжиженного углекислого газа в газообразованное состояние (как у M114), но переход жидкой углекислоты в газообразное состояние ускорялся благодаря инициированию в баллоне с углекислотой специального нагревающего химического элемента. Боеприпас устроен следующим образом (рис. 1.48).

Рис. 1.48. Боеприпас для взрывного диссеминирования сухих биологических рецептур. А. Общий вид боеприпаса. Б. Поперечное сечение боеприпаса по линии 2–2 (см. А). По патенту US3188954

Он включает оболочку (1), которая состоит из цилиндрической части (2), присоединенной (3) к носовому узлу (4), и хвостовую секцию (5). В пределах оболочки (1) вставлена армированная втулка (6). Бомба имеет носовую часть (7) и хвостовую часть с распылителем-стабилизатором (9). Носовая часть (7) включает носовую внешнюю чашу (11) и носовую внутреннюю чашу (13). Носовой узел (4) присоединен к основанию (7) с помощью винтов (16). Он (4) поддерживает газовый цилиндр и взрыватель, описанные ниже.

Носовое основание (7) и стабилизатор, расположенный в хвостовой части бомбы (15), имеют гексагональную форму для облегчения формирования кластеров таких бомб в кассете. Хвостовой стабилизатор бомбы (15) установлен на хвостовой конической части бомбы (5). Крепежная заклепка (19) используется для закрепления хвостового стабилизатора (15) к конической части бомбы (5). Там же расположены муфта распылителя (22), втулка (24) хвостового стабилизатора (15) и распылитель (9).

Взрыватель включает чеку (штырь) (23) и пружину (25), которая используется для эжекции штыря (23). Армированная проволока (21) удаляется, когда бомба будет кластированна вместе с другими для использования. Штырь (23) после этого удерживается на месте за счет зажима (26). Стопорные шары (27) сжимают чеку (23) и тем самым блокируют инициирование взрывателя (29). Втулка (31) и поджигающий капсюль (33) непосредственно прилегают к удерживающим шарам (27). Удерживающая пружина (35) расположена между втулкой (31) и капсюлем (37). Капсюль (37) расположен в пределах досягаемости ударника взрывателя (39).

На рис. 1.48 (А) поршень (40) отделен от ударника взрывателя (39) небольшим пространством. Основание поджигающего стержня (41) запирается поршнем (40). Поршневая пружина (42) расположена между поршнем (40) и цилиндром (44), который содержит жидкую углекислоту. Пружина поршня (42) не позволяет поджигающему стержню (41) нанести случайный удар и преждевременно разорвать первый срезающийся диск (47).

Нагревающий детонатор (49) присоединен к первому срезывающемуся диску (47) и установлен в первом концевом участке нагревающей трубы (51). Держатель нагревателя (53) также смонтирован в первом концевом участке нагревательной трубы (51) и присоединен к нагревающему детонатору (49). Внешний держатель нагревателя имеет пазы (55). Крышка нагревателя (59) расположена во втором концевом участке нагревающей трубы (51). Жидкий углекислый газ (61) содержится в цилиндре (44), расположенном вокруг нагревающей трубы (51). Гофрированный держатель нагревателя (53) проходит через цилиндрическое отверстие в концевом участке цилиндра (44) и вокруг нагревающей трубы (51). Жидкий углекислый газ (61) содержится в цилиндре (44) и расположен вокруг нагревающей трубы (51). Гофрированный держатель нагревателя (53) проходит через отверстие в конце цилиндра (44). Его пазы формируют продольные каналы, которые сообщаются с внутренним пространством цилиндра (44). Наружные выходы этих каналов закрыты первым срезающимся диском (47).

У этой бомбы имелись еще две частные модификации, не представляющие особого интереса с точки зрения эффективности при боевом применении. С ними можно ознакомиться по описанию к патенту US3188954.

Во время полета все три хвостовых стабилизатора раскрываются потоком воздуха. Когда кассетная бомба раскрывается, зажим (26) выдергивается из гнезда, и чека (23) выталкивается из бомбы посредством разжимающего действия армированной пружины (25). Это позволяет стопорным шарам (27) свободно перемещаться. При ударе бомбы о фунт или о другое препятствие, шары движутся вниз, высвобождая ударник взрывателя (39), который вследствие инерционного движения преодолевает сдавливающее действие пружины (35) и ударяет по капсюлю (33), вызывая его поджог. Взрыв детонатора (37) приводит в движение поджигающий стержень (41), который проходит через первый срезающийся диск (47) и детонирует зажигающий капсюль (49). Нагревательная труба (51) содержит смесь калия перхлората (КСlO4), древесного угля и масла. Эта смесь инициализируется посредством детонатора (49) и быстро загорается, выделяя огромное количество тепла, вызывающего взрывное испарение жидкой углекислоты (61) в цилиндре (44). Давление углекислоты разрушает срезающийся диск (47), и газ прорывается по желобкам (55), выходит через отверстия (65), разрывая герметизирующую ленту (69), и проникает в пространство боеприпаса (71) между цилиндром с углекислотой (44) и оболочкой (1), в котором содержится сухая рецептура (70). Разрушается второй срезающийся диск (73) и потоком углекислого газа сухую рецептуру выбрасывает в коническое отверстие в хвостовой части боеприпаса (5), при этом скорость выброса смеси углекислоты и сухой рецептуры увеличивается, через хвостовое отверстие (75) рецептура попадает в атмосферу.

Распылительный стабилизатор (9) устроен таким образам, что для большего поражающего эффекта он делит мелкодисперсный аэрозоль, выброшенный через отверстие (75), на три облака.

В начале 1960-х гг. интерес разработчиков БО к биологическим боеприпасам, взрывающимся при ударе о поверхность, снизился. Их внимание стала занимать задача равномерного диссеминирования биологического аэрозоля в приземном слое воздуха. Ее решение позволило бы исключить потери дорогостоящего биологического материала, которые при наземном подрыве боеприпаса были значительными, к тому же аэрозоль, образовавшийся непосредственно у поверхности земли, не имел возможности распространиться на большие расстояния. В годы Второй мировой войны подобные попытки предпринимались. Например, известно о создании японскими военными из 9-го армейского научно-исследовательского института, биологического боеприпаса типа «мать и дочь», решающего ту же задачу на уровне технологий 1940-х гг. (см. разд. 1.8). Его можно считать относящимся к первому поколению таких боеприпасов. Второе поколение получило название барометрических. В качестве примера такого боеприпаса рассмотрим боеприпас, запатентованный в мае 1961 г. в США (US3170393). Боеприпас предназначен для диспергирования химических, радиоактивных и биологических агентов на разных высотах без применения взрыва или нагревания (рис. 1.49).

Рис. 1.49. Барометрический боеприпас для диссеминирования биологических, химических и радиоактивных агентов на разных высотах. А. Продольный разрез барометрического боеприпаса. Б. Поперечный разрез боеприпаса по линии 2–2 (см. А).В. Частичный разрез боеприпаса по линии 3–3 (см. А). Г. Частичный разрез боеприпаса по линии 4–4 (см. А). Д. Поперечный разрез по линии 5 (см. Б). Е. Фронтальный вид удерживающего крепления (arming weight mount). По патенту US3170398

Боеприпас состоит из корпуса (1), на поверхности которого имеются пазы (7), обеспечивающие вращение боеприпаса вокруг горизонтальной оси во время полета. Канал (9) расположен в корпусе (1; таким образом, что обеспечивает поступление воздуха внутрь барометрического боеприпаса. Корпус (1) и стакан (35) образуют камеру (101), в которую снаряжается диспергируемый материал. Этими материалами могут быть сухая или жидкая биологические рецептуры, отравляющие и радиоактивные вещества.

Две полусферы, составляющие корпус боеприпаса, удерживаются вместе замком, несмотря на действие пружины (87). Этот замок состоит из чеки (67), стопорных шариков (69) стопорной втулки (61), втулки чеки (59), шариков (57) и планок шарикового стопора (55). Замок удерживает стакан (35), соединенный с первой полусферой корпуса. В подготовленном к действию боеприпасе, т. е. при соединенных полусферах, пружина (87) сжата и удерживается в таком состоянии замком.

Узел сцепления может быть установлен на любую необходимую высоту путем создания соответствующего давления воздуха на параметрический спусковой механизм через канал (9). Под действием этого установочного давления буртик (выемка) (27) хвостовой втулки устанавливается на определенном расстоянии от буртика втулки сцепления (29) После этого давление снимается и узел сильфона можно считать установленным для срабатывания при определенном атмосферном давлении (но не более низком, поскольку под действием более низкого давления не произойдет сжатие сильфона, коль скоро пружина сильфона (45) через узел сцепления установлена на более высокое давление).

Поскольку установка производится при помощи давления воздуха, то можно одновременно устанавливать большое число боеприпасов на подрыв на заданной высоте.

Для этого их помещают в контейнер, создают в нем необходимое давление, а затем стравливают воздух. В качестве контейнера можно использовать кассету для таких бомб или боеголовку ракеты.

Устройство срабатывает следующим образом. Атмосферное давление сжимает сильфон (43), преодолевая действие пружины сильфона (45). Через канал (9) давление в стакане уравновешивается с атмосферным давлением. При сжатии сильфона (43) втулка (47) перемещается вправо. В результате перемещаются вправо крышка (51), которая соединена со втулкой, и пальцы (53), которые удерживают звездочку (73), и она может свободно поворачиваться. После сбрасывания барометрического боеприпаса пазы (7) вызывают его впащение вокруг оси. По мере снижения боеприпаса, давление воздуха через канал (9) на сильфон возрастает. В обычном положении звездочка под воздействием своей пружины (86) находится в зацепленном состоянии и связана с пальцами (53). Однако перед снижением до предусмотренной высоты центробежные плашки (77) под действием центробежных сил, возникающих вследствие вращения боеприпаса, поворачиваются на штифтах (81). Этот поворот плашек (77) вызывает поворот звездочки (73), так как штифты звездочки (75) входят в пазы плашек (77). Звездочка поворачивается и отходит от пальцев (53), и последние получают возможность перемещаться вправо при поджатии сильфона (43), не касаясь звездочки (73).

Когда боеприпас снижается до предусмотренной высоты, атмосферное давление сжимает сильфон (43), поджимая при этом пружину сильфона (45), в результате втулка (47) сильфона перемещается вправо вместе с крышкой (51) и пальцами (53). При движении пальцев вправо высвобождаются и отпадают стопорные планки (55), в результате чего высвобождаются стопорные шарики (57). Шарики освобождают внутреннюю стопорную втулку (61), которая перемещается вправо под воздействием пружины (63). Когда левый конец внутренней стопорной втулки (61) освобождает шарики (69), последние выпадают и высвобождают втулку (59). В результате втулка (59) может свободно перемещаться по чеке (67), которая соединена с пластиной (89). Теперь пружина (87) ничем не удерживается. Упираясь с одной стороны в тарелку (89), а с другой стороны в стакан (35), она разъединяет полусферы барометрического боеприпаса в стыке (93). поскольку тарелка прикреплена к пластине (91), которая соединена с левой полусферой, а стакан (35) — корпусу сцепления, который соединен с правой полусферой После разъединения полусфер освобождается и диспергируется материал, которым была снаряжена камера (101).

Заявленная патентом US3170398 конструкция субэлемента кассетного боеприпаса стала основой для развития семейства бомб малого калибра с автоматическим рассеиванием, срабатывающих на заданной высоте. К семейству относится биологическая бомба Е-120, представляющая собой устройство сферической формы диаметром 10 см. снаряжаемое 50— 100 г порошкообразного биологического материала и предназначенное для снаряжения кассетных бомб или реактивных снарядов (рис. 1.50).

Рис. 1.50. Биологическая бомба Е-120. Разработана в США в начале 1970 гг., т. е. перед окончанием программы по созданию БО. А. Внешний вид бомбы. Ее форма такова, что при падении она раскручивается вокруг своей оси с нарастающей скоростью, как детская игрушка юла. Благодаря смещенному центру тяжести, она не кувыркается в полете, что позволяет агенту распыляться из верхней части бомбы. Б. Поперечный разрез бомбы. По R. Sidell et al. (1997)

В 1960-х гг. специалисты Форт-Детрика разработали устройство «ротор Флеттнера» («Flettner rotor»), в котором сочетается принцип эжекции газа и принцип устройств Олсонана времен Второй мировой войны. Последние представляли собой небольшие трубки, содержащие жидкий химический агент и углекислый газ под высоким давлением. При срабатывании открывались отверстия на обоих концах трубок, освобождая жидкость и газ. Когда трубки падали на землю, они начинали вращаться под действием выходящих струй (рис. 1.51).

Рис. 1.51. Биологический боеприпас, созданный с использованием принципа движения ротора Флеттнера Представляет летающую по спирал и бомбу длиной 7 дюймов, снаряженную сухой или жидкой рецептурой биологического агента. Разрабатывался специально для кластеризации в кассетных бомбах. Возможности боеприпаса исследовались в 1960-х гг., но на вооружение армии США он не принимался. По R. Sidell et al. (1997)

В роторе Флеттнера сухая рецептура биологического материала выбрасывается в атмосферу углекислым газом, находящимся в небольшом баллоне, в результате в процессе снижения устройства по спирали создается аэрозольное облако. Роторы Флеттнера были приспособлены для использования в кассетах Гладейе и Садейе. По-видимому, их можно было использовать и для снаряжения боевых частей реактивных снарядов, которые в данном случае могли срабатывать по типу кассеты Гладейе, т. е. последовательно через установленные интервалы освобождать блоки трубок («роторов Флеттнера»), каждый из которых разрывался бы на заданной высоте (The Problem…, 1970).

Перечисленными конструкциями боеприсов арсенал биологического оружия, разработанного в период увлечения аэрозолями биологических агентов, разумеется, не исчерпывается. В табл. 1.5 приведена сводка технических средств применения агентов БО, созданных в США до подписания Конвенции 1972 г.

Общими характеристиками боеприпасов бомб, генераторов, реактивных снарядов), согласно американским данным, являются, во-первых, сила (мощность) источника аэрозоля и, во-вторых, коэффициент гибели инфекционного агента (в процентах) при его хранении в боеприпасе (контейнере). Для точечного источника аэрозоля (бомбы, неподвижный генератор) сила источника выражается в средних инфицирующих дозах (ID50), образующихся в точке распыления, а для линейного источника — в инфицирующих дозах на погонный метр выпуска (полета) и др. (Ситников М. Н., 1968).

Таблица 1.5. Технические средства применения агентов БО, созданные в США до 1972 г.[27]

Тип | Механизм действия | Примечание

Генератор аэрозоля E44R2 | Нет данных | В стадии разработки с 1965 г.

Боеголовка наводимой ракеты М210 | Кассетные элементы в боеголовке (М143) | В стадии разработки с 1967 г.

Выливной прибор для жалкого агента A/B45Y-1 | Распыление | Для тактических истребителей, в 1956 г. находился на стадии разработки

Распыливающая емкость пя сухого агента A/B45Y-4 | Диспергирование | Испытывался для применения энтеротоксина стафилококков

К юсетная бомба Е133 | Суббоеприпас кассетных бомб (E61R4) | В 1958 г. находился в стадии разработки

Суббоеприпас E61R4 | Для Е133 | То же

Суббоеприпас Ml43 | Для М210 | Принят на вооружение в середине 1960-х гг.

Разработчики БО обычно используют выгодные им частные критерии, например, такой как диссеминирующая эффективность боеприпаса. Для боеприпаса, снаряженного рецептурой возбудителя сибирской язвы (шифр возбудителя — TR), диссеминирующая эффективность определяется как «отношение числа жизнеспособных спор, переведенных в аэрозольные частицы диаметром менее 5 мкм, к числу жизнеспособных спор в снаряженном боеприпасе». В подборке документов «Joint СВ Technical Data Source Book» отмечается: «…Эффективность аэрозолирования TR из распыливающих приборов AB45Y-1 и А/В45Н-4 получена на основании экспериментов с биологическим имитатором и составляет 17,2 и 49,1 % соответственно». Аналогичным образом, в том же источнике, но относительно агента PG (стафилококкового энтеротоксина), сообщается, что эффективность его диссеминирования с помощью распыливаюшего прибора A/B45Y-4 составляет: «…63 %, если учитываются размеры всех аэрозолированных частиц, и 26 %, если в расчет принимаются только частицы размером менее 5 мкм».

Определенное представление о возможных концентрациях микроорганизмов в воздухе дают испытания на американских самолетах специальных распылителей. При скорости 500 км/ч при подвешивании одного генератора создавалось 3,1×109 ID50 на 1 м полета, а при двух генераторах — в два раза большая концентрация. В экспериментах, а также по расчетным данным, концентрации для туляремийного микроба в сформировавшемся аэрозольном облаке могут достигать 1×106 микробных клеток в 1 л воздуха (Ситников М. Н., 1968).

Но, как мы увидим из материалов, обобщенных ниже («Аэробиология мелкодисперсного аэрозоля»), ни этот критерий, ни многие другие, характеризующие биологический агент до распыления и после распыления (которые в данной работе не рассматриваются), не гарантируют успеха в применении БО.

Аэробиология мелкодисперсного аэрозоля. В начале 1960-х гг. разработчики ядерного оружия эффектно взрывали в космосе ядерные устройства мощностью в десятки мегатонн. Но разработчикам «мощного оружия бедных» еще только предстояло масштабировать свои эксперименты с мелкодисперсными аэрозолями на ровных и размеченных площадках Дагуэйского полигона. Как оказалось, найти там место для «диссеминирующей эффективности» и прочих формальных критериев лабораторной практики весьма проблематично. Невозможным оказалось и применение опыта военных химиков для изучения поведения аэрозоля опасных микроорганизмов. Его поведение как системы определялось уже не только законами физики, но и еще пока неизвестными биологическими закономерностями.

Высокопроизводительных устройств, создающих аэрозоль нужной дисперсности на территориях, сопоставимых с площадью поражения тактическим ядерным бое-припасом, не было. Один из простейших способов диссеминирования биологических поражающих агентов — распыление рецептуры биологического агента при помощи одноканального сопла, использующего энергию газа. Однако для такого сопла, чтобы добиться эффективности на уровне 5 %, требуется давление минимум 300 фунтов на кв. дюйм (21 кг/см2) (Patric W. III., 2001). Но уже при давлении в десять раз меньшем количество выживших после диспергирования бактерий ничтожно (Rosebury Т., 1947). Увеличение давления в распылителе приводит к возрастанию эффективности распыления; в то же время клетки бактерий подвергаются воздействию срезывающего усилия. По мере дальнейшего увеличения давления возрастает количество погибающих клеток под действием срезывающего усилия. Гибель бактерий происходит быстрее, чем увеличение эффективности распыления (Hatch М. Т., Wolochow Н., 1971).

Такая же закономерность обнаружена при имитировании применения сухих ре-гдтур поражающих агентов БО. В табл. 1.6 показана взаимосвязь между жизнеспо-::остью агента и размерами частицы на примере сухих рецептур S. marceseens (SM).

Таблица 1.6. Взаимосвязь между размером частиц, количеством жизнеспособных клеток на частицу и количеством жизнеспособных клеток на 1000 частиц аэрозоля[28]

Размер аэрозольных частиц | Кол-во SM на частицу аэрозоля | Кол-во жизнеспособных SM на частицу аэрозоля | Частота присутствия жизнеспособных клеток SM на 1000 частиц аэрозоля

0,8 | 1,8 | 0,001 | 0,5

1,3 | 4,2 | 0,01 | 2,6

3,0 | 18,0 | 0,2 | 15,6

6,5 | 73,0 | 2,5 | 38,0

11,5 | 195,0 | 7,7 | 14,0

16,0 | 350,0 | 11,0 | 60,0

Если аэрозоль содержит частицы размером 0,8 мкм, то на каждую из них приходится в среднем 1,8 клетки SM, но их выживаемость составляет 0,001 %. При увеличении размеров частиц увеличивается и выживаемость клеток в частицах аэрозоля, однако они теряют способность проникать в глубокие отделы легких и вызывать инфекционный процесс у людей и животных (Patric W. III., 2001).

Оказалось, что практически невозможно контролировать размер частиц, образующихся при таком способе диспергирования и любом типе используемых рецептур. Частицы аэрозоля сразу же после диспергирования изменяют свои размеры. Частицы жидкого аэрозоля из-за потери виды могуч уменьшаться в размерах почти в 2,5 раза, а сухие, наоборот, в результате регидратации могут увеличиваться в 4 раза. При этом содержащиеся в них микроорганизмы подвергаются быстрым температурным воздействиям — при дегидратации они охлаждаются, при гидратации нагреваются (Ситников М. Н., 1968).

Казалось бы, можно посчитать примерный размер частиц диспергируемой жидкой рецептуры, с учетом их возможного «высыхания». Степень обезвоживания частицы связана с соотношением давления паров воды на поверхности частицы и в воздухе и находится в линейной зависимости. При 40 % относительной влажности равновесие достигается к моменту, когда частица утрачивает 85 % исходного веса сорбированной воды. При 97 % относительной влажности потеря составляла не более 10 %.

Но обезвоживание частиц аэрозоля приводит не только к уменьшению их размерь, но и к изменениям в структуре протеинов бактериальной клетки, в первую очередь ферментов. Не исключается и другой механизм губительного действия обезвоживания, связанный с повышением концентрации токсических веществ в клетке. Следовательно, чем ниже относительная влажность, тем выше скорость гибели микробной клетки. Частицы аэрозоля при низкой относительной влажности воздуха приобретают нужный размер 3–5 мкм, однако это сопровождается гибелью части микроорганизмов, в них содержащихся (Haykawa J., Рооп С.,1965). Чем крупнее частица аэрозоля, тем больше воздействие происходящих в ней физических процессов на биологический агент. Просчитать такие закономерности можно при подготовке опытов в полигонных условиях. В условиях боевого применения БО трудно ожидать, что относительная влажность воздушной среды на территории, по которой оно применяется, будет соответствовать заранее рассчитанной.

В 1959 г. S. Webb установил, что в течение первой секунды после распыления гибнет подавляющее число микроорганизмов. В последующие девять секунд скорость их инактивации значительно уменьшается. В дальнейшем, в течение ближайшего часа и позже, процесс отмирания микробов идет очень медленно (цит. по Огаркову В. И… Гапочко К. Г., 1975).

Причины, по которым происходит гибель микроорганизмов в аэрозоле, интенсивно выяснялись в 1950–1960 гг. Разными исследователями было установлено, что гибель микроорганизмов во время распыления и сразу после него зависит от таких факторов, как вид микроорганизма и свойства конкретного штамма; условия культивирования и сушки; физиологический возраст культуры; условия и продолжительность их хранения перед диспергированием; наличие примесей в среде диспергирования; условия самого процесса диспергирования; физико-химические свойства частиц, атмосферные условия (относительная влажность, температура, освещенность, инсоляция, состав атмосферы и наличие в ней загрязняющих веществ).

Все эти годы, до принятия решения о свертывании наступательных программ по БО, разработчиками такого оружия велись поиски способов и средств, которые свели бы к минимуму повреждающее действие выше приведенных факторов на аэрозолированные микроорганизмы. С этой целью ими подбирались более устойчивые к аэрозолированию штаммы агентов БО, оптимизировались условия их культивирования и сушки, испытывались в качестве добавок к бактериальным и другим суспензиям различные химические вещества (глицерин, желатин, глюкоза). Но попытки стабилизировать аэрозоль давали только новые научные открытия, но не уверенность в успешном применении БО при ведении военных действий. В конце 1950-х гг. было обнаружено, что даже кратковременное пребывание в составе аэрозоля сказывается на поражающих свойствах биологических агентов. Такие многообещающие в качестве агентов БО микроорганизмы, как возбудители чумы и туляремии, при нахождении в воздухе в темное время суток, наиболее благоприятное для сохранения их жизнеспособности, теряли вирулентность (см. обзор Goodlow R. J., Leonard F. А., 1961). Обнаружился удручающий для разработчиков БО феномен — по мере старения бактериального аэрозоля процесс отмирания клеток бактерий происходит медленнее, чем утрата ими инфекционности и вирулентности. «Старый» аэрозоль, несмотря на сохранение жизнеспособных клеток (т. е. прорастающих на питательной среде), утрачивает способность вызывать инфекционный процесс у экспериментальных животных.

W. D. Sawyer et al. (1966) изучили это явление на обезьянах и людях-добровольцах, ингаляционно инфицированных штаммом возбудителя туляремии, и установили, что величина инфицирующей дозы для обезьян по мере старения аэрозоля увеличивалась через 180 мин в 10 раз. Сходные результаты были получены другими авторами на разных экспериментальных животных (см. Огарков В. И., Гапочко К. Г., 1975). Здесь я напомню читателю, что снижение вирулентности микроорганизмов, рассматриваемых военными в качестве агентов БО, происходит не только при старении аэрозоля. Оно начинается сразу после их выделения из природного источника в качестве чистых культур при последующем поддержании на искусственных питательных средах, затем в процессе культивирования и высушивания (см. «Критические взгляды на БО» в разд. 1.7 и «Повышение вирулентности бактерий» в разд. 1.8).

Труднопрогнозируемым оказалось поведение мелкодисперсного аэрозоля как физической системы. Генерал Исии Сиро, используя ВАПы, переделанные из тех, которые используют военные химики для поливки противника ипритом, хотя бы имел возможность обнаруживать на белых простынях крупные капли бактериальных культур, осевшие после распыления с самолетов. Но поведение аэрозоля с нужной для разработчиков БО дисперсностью определялось уже не скоростью прохождения капель через газовую фазу, а кинетикой самой газовой фазы. Рассмотрим это на примере диспергирования аэрозоля из линейного источника.

Аэрозоль агентов БО представляет интерес разработчикам БО только в том случае, если он распространяется в приземном слое воздуха на высоте роста человека. Под линейным источником аэрозоля понимается генератор аэрозоля, движущийся перпендикулярно направлению ветра, сила которого достаточна для того, чтобы увлечь образующийся аэрозоль с собой. Это наиболее эффективный способ доставки биологического агента к цели. В неподвижном воздухе статических камер скорость оседания сферических частиц зависит от их плотности и диаметра. Если допустить, что инфекционные частицы имеют приблизительно сферическую форму, то скорость оседания частиц в неподвижном воздухе имеет следующие значения (табл. 1.7).

Таблица 1.7. Скорость оседания частиц в неподвижном воздухе[29]

Диаметр частиц, мкм | Скорость оседания, см/мин | Время падения на 1 м высоты

100 | 153 | 3 с

10 | 15 | 6 мин

5 | 5 | 22 мин

1 | 0,21 | 8ч

0,1 | 0,02 (мм/мин) | 14 сут.

В ходе полигонных экспериментов установлено, что физическую устойчивость аэрозольного облака, содержащего инфекционные частицы, определяют не только дисперсность и агрегатное состояние аэрозоля, но и метеорологические условия (температурный градиент, скорость ветра и атмосферные осадки) и даже характер местности (рис. 1.52).

В период времени, следующий сразу за диспергированием (либо с самолета, либо: использованием любого другого распыляющего устройства), аэрозоль приходит в равновесие с атмосферными условиями. Крупные аэрозольные частицы выпадают из чего, оседают на поверхность и образуют с ней прочные связи в результате адгезии. Такие частицы весьма трудно поддаются реаэрозолированию с образованием вторичного аэрозоля, и они не представляют опасности для человека. В приземном слое воздуха остается первичный аэрозоль, состоящий из частиц в магическом диапазоне размеров от 1 до 5 мкм, которые ведут себя как газ и движутся вместе с газовой фазой. Находясь во взвешенном состоянии, они должны вызывать инфекцию у человека, но нет никакой гарантии, что они не пройдут над целью даже при самых благоприятных метеоусловиях и ровной местности (Patric W. III., 2001).

Рис. 1.52. Поведение аэрозоля, созданного линейным источником. Средство доставки рассеивает аэрозоль по линии, перпендикулярной направлению ветра, цель находится в одном или нескольких километрах с подветренной стороны. Ветер проносит инфекционные частицы над целью. По W. III. Patric (2001)

В 1960 гг. влияние атмосферных факторов на биологические аэрозоли исследовалось очень интенсивно. Для имитирования полевых условий были созданы разнообразные сложные экспериментальные камеры (статические и динамические), которые позволяли обеспечивать точное регулирование температурного градиента, скорости ветра, влажности и воздействия солнечного света. На основе данных, полученных в полевых условиях и в экспериментальных камерах, специалисты Форт-Детрик в начале 1960-х гг. пришли к ясным представлениям об оптимальных условиях для применения БО, которые они рекомендовали военным. Эти условия отражены в наставлении FM 3-10 (1962). Наилучшими считались: скорость ветра не более 4 м/с при изотермических и инверсионных метеорологических условиях атмосферы, чаще всего наблюдающихся в ночное время при безоблачном небе или зимой при сплошной облачности, а также в ранние и вечерние часы в летнее время. Высота «выпуска» аэрозоля с летальных аппаратов по-прежнему, как и во время войны на Корейском полуострове, рекомендовалась не более 30 м, что позволяло эффективно применять БО только против крупных масс войск противника, сконцентрированных на узких участках фронта.

Но, как оказалось, факторы, контролирующие биологическое отмирание аэрозолей, были еще не полностью поняты. Расширение экспериментов по изучению поведения биологического аэрозоля в указанном в FM 3-10 диапазоне метеоусловий, позволило открыть дополнительные факторы, ускоряющие биологическое отмирание аэрозолей, например, «фактор открытого воздуха». Он обнаружен британскими военными исследователями из Портон Дауна и описан в литературе в 1968 г., т. е. уже на «закате» наступательной программы (Druett Н. A., May К. R., 1968).

Фактор обусловливает непредвиденно высокую скорость отмирания вегетативных форм бактерий и вирусов на открытом воздухе в ночное время. Им оказалось метастабильное химическое вещество, наподобие того, которое может генерироваться при реакции озона с углеводородами, выделяющимися при работе автомобильных двигателей. Вещество полностью исчезает из наружного воздуха, подаваемого в лабораторию. Обнаружение такого фактора означало, что скорость отмирания микроорганизмов в экспериментальных камерах не соответствует скорости их отмирания на открытом воздухе. Особенно высокую чувствительность к «фактору открытого воздуха» показали имеющие низкие инфицирующие дозы агенты БО — F. tularensis, В. suis, и некоторые арбовирусы. Чем меньше был размер частицы аэрозоля, содержащего вирусы, тем быстрее происходила их инактивация. Споровый микроорганизм — возбудитель сибирской язвы, оказался нечувствительным к «фактору открытого воздуха», а его инфицирующая доза в самых оптимальных метеоусловиях в тысячи раз выше, чем у возбудителей бруцеллеза и туляремии (The Problem, 1970).

Трудности возникли у разработчиков БО и при попытках диспергирования до аэрозольного состояния биологических токсинов. В экспериментальных условиях при ингаляционном введении рицин в два раза токсичней вещества «VX» — самого токсичного из боевых ОВ. Но его сухие рецептуры оказалось невозможным диспергировать с помощью разрывных зарядов из-за потери активности. Дробление взрывом растворов и суспензий рицина так же встретило свои проблемы. Рицин, будучи гликопротеином, растворим только в водных системах, но сам разлагается водой, и снаряженные боеприпасы быстро утрачивают эффективность. К тому же водные растворы рицина замерзают, что создает дополнительные проблемы для их боевого применения. Суспензии рицина в четыреххлористом углероде испытывались в качестве модельных систем при изыскании методов перевода в аэрозольное состояние других биологических агентов. Но любые суспензии сами по себе являются неустойчивыми, расслаиваются и меняют баллистические характеристики боеприпасов. Попытки применить рицин в виде тонкодисперсного порошка с размером частиц 5 мкм и менее, оказались сопряженными с проблемами, создаваемыми его слеживанием и комкованием. К тому же рицин в виде распыленного порошка или раствора оказался подвержен дезактивирующему действию ультрафиолетового излучения — получасовая экспозиция рицина к ультрафиолету приводит к снижению его активности в 1000 раз (Антонов Н. С., 1994).

Влияние биотехнологических факторов, условий диспергирования и нахождения в атмосфере на выживаемость и инфицирующую (поражающую) способность биологических агентов обобщено в ряде обзоров (Ситников М. Н., 1968; Антонов Н. С., 1994), в данной книге нет смысла их рассматривать детально. К отдельным аспектам проблемы мы вернемся в третьей части книги (см. разд. 3.11).

Отдел специальных операций в Форт-Детрике. Основан в 1948 г. (см. разд. 1.9 «Разработка технических средств для индивидуальных убийств»). На финансирование этого отдела только в период с 1953 по 1973 г ЦРУ израсходовало около 3 млн долларов. В интересах ЦРУ в отделе изучались такие проблемы, как устойчивость биологических агентов, возможность приготовления сухих рецептур биологических агентов, возможность приготовления их в виде порошка для загрязнения одежды, подушек, постельного белья и т. д. Отделом разработаны и изготовлены устройства для рассеивания биологических рецептур в виде чемоданчиков, зажигалок, авторучек, стартеров люминесцентных ламп. Подобные устройства изготовлялись не только для ЦРУ, но и для диверсантов других ведомств. Специально для ЦРУ разработан и изготовлен микробиоинокулятор, не оставлявший следов, которые обнаруживались бы при осмотре и вскрытии трупов, а также различные устройства для диверсионных актов с целью порчи продуктов питания, загрязнения нефтехранилищ и т. д.

Длительное время в отделе велись поиски альтернатив стандартным ампулам с цианистым калием. Было изготовлено 80 штук изделий в виде булавок с токсином моллюсков (палитоксин) для применения агентами ЦРУ в чрезвычайных обстоятельствах, а также пилотами разведывательных самолетов «U-2». Такой отравленной булавкой был снабжен, в частности, летчик Пауэрс, у которого она была спрятана в серебряном долларе. Сотрудники КГБ СССР обнаружили эту булавку и таким образом положили конец данной программе. Официальные лица, в частности, директор ЦРУ Колби, утверждали тогда, что это был единственный случай использования подобного устройства в операции (разумеется!).

В конце 1960-х гг. Отдел специальных операций Форт-Детрика поддерживал для ЦРУ запас 15–20 биологических агентов и токсинов в количествах от 100 мг до 100 г.

В январе 1970 г. в записке, адресованной директору ЦРУ, заместителю директора ЦРУ по планированию Карамессинес указал следующие материалы:

Bacillus anthracis — 100 г;

Pasteurella tularensis — 20 г;

вирус венесуэльского энцефаломиелита лошадей — 20 г;

Coccidioides immitis — 20 г;

Brucella suis — 2–3 г;

Brucella melitensis — 2–3 г;

Mycobacterium tuberculosis — 5 г;

Salmonella typhimurium — 10 г;

вирус натуральной оспы — 50 г;

стафилококковый энтеротоксин — 10 г;

ботулинический токсин, тип А — 5 г;

паралитический токсин моллюсков — 5,193 г;

яд змеи Bungarus candidis — 2 г;

токсин Microcystis aeruginosa — 25 мг;

токсиферин — 100 мг.

Поданным Министерства обороны, все перечисленные материалы были уничтожены вместе с запасами биологических лабораторий в Форт-Детрике за исключением токсина моллюсков, который в нарушение распоряжения президента США был передан ЦРУ. Больше того, к 5,193 г палитоксина сотрудники ЦРУ добавили наличный запас этого токсина из другого подразделения Форт-Детрика (Hearings before the select committee…, 1975).

Насекомые как переносчики возбудителей опасных инфекционных болезней. Еще с 1930-х гг. чумная блоха рассматривается военными как в своем роде «классика БО». Гипнотизирующее действие на разработчиков БО оказывали исторические хроники, сообщающие о гибели крупных воинских контингентов и даже целых армий от бубонной чумы, малярии, желтой лихорадки, сыпного и возвратного тифов, основную роль в распространении которых играли насекомые. С точки зрения формальной логики создание энтомологического оружия не должно было вызвать особых сложностей, и его эффективность представлялась разработчикам БО очень высокой. Известно свыше 100 инфекционных болезней, которые передаются более чем 2000 видами членистоногих. Большинство насекомых сохраняет способность заражать человека и животных в течение от нескольких недель до 2–3 мес. Клещи живут несколько лет и способны передавать инфекцию новому поколению. Сторонники такого способа распространения инфекционных болезней утверждали, что защита от биологических аэрозолей сравнительно проста, поскольку противодымные фильтры современных противогазов полностью задерживают частицы аэрозоля микронного диапазона. А вот насекомые способны обойти эту защиту и доставить биологические агенты «по назначению» через неповрежденную кожу. Поскольку насекомые остаются жизнеспособными в течение определенного времени, весь этот период район цели сохраняет опасность для пребывающего в нем личного состава вооруженных сил. Кроме того, за счет активного перемещения (миграции) насекомых и грызунов размеры первоначальных очагов заражения могут увеличиваться (Ситников М. Н., 1968; Dando М., 1994).

Результаты применения энтомологического оружия во время войны на Корейском полуострове были признаны американским командованием положительными. Хотя сброшенные американскими самолетами инфицированные насекомые не вызвали массовых эпидемий среди войск и населения противника, но все же они показали «принципиальную возможность» такого поражения. Поэтому после окончания войны в Форт-Детрике осуществлены несколько крупных программ по разработке средств энтомологической войны. Сводка полевых испытаний, во время которых изучались возможности насекомых в качестве переносчиков агентов БО, приведена в табл. 1.8.

Таблица 1.8. Полевые испытания насекомых в качестве переносчиков агентов БО, проведенные американскими военными в 1950— 1960-х гг.[30]

Условное обозначение испытаний | Дата | Описание

«Big Itch» («Сильный зуд») | 1954 | Испытание боеприпаса Е-14 для рассеивания блох

«Big Buzz» («Громкое жужжание») | 1955 | Демонстрация возможности массового производства комаров и их рассеивания с самолета. Оценка выживаемости комаров и их способности вызывать укусы у человека

«May Day» («Майский день») | 1956 | Рассеяние комаров из наземного источника за пределами города Саванна, шт. Джорджия

«Bellwether I» («Вожак I») | 1959 | Определение влияния факторов окружающей среды на частоту укусов голодными неоплодотворенными самками комаров A. aegypti личного состава войск, расположенных на открытом пространстве

«Bellwether II» («Вожак II») | 1960 | Серия опытов по определению влияния расстояния до жертвы, движения и т. д. на частоту укусов комарами (с участием до сотни военнослужащих в каждом опыте)

«Bellwether III» («Вожак III») | 1962 | Сравнение штаммов A. aegypti по склонности к укусам, рассеянию и проникновению в жилища

По данным, собранным М. Dando (1994), начатая в 1953 г. в Форт-Детрике программа по изучению возможности применения членистоногих для распространения биологических агентов, предполагала изучение способности комара Aedes aegypti, переносчика вируса желтой лихорадки, вызывать вспышки желтой лихорадки среди населения Средней Азии СССР. Предполагалось, что успех программы обеспечен высокой восприимчивостью населения СССР к вирусу желтой лихорадки и тем, что в условиях СССР может оказаться невозможным быстро осуществить программу массовой иммунизации населения.

Возможность использования комаров для заражения людей была оценена путем выпуска неинфицированных самок в населенную зону в районе города Саванна, штат Джорджия, и наблюдения за тем, сколько их попадет в дома и укусит людей (испытание «May Day»). Кроме того, в 1956 г. 600 тыс. неинфицированных комаров было выпущено с самолета на полигоне для бомбометания, и в течение дня насекомые преодолели расстояние в одну-две мили и перекусали много народа. Дальнейшие испытания показали, что насекомые могут рассеиваться с вертолетов, из устройств, сбрасываемых с самолетов, или с земли. Сообщено, что в лабораториях Форт-Детрика в те годы могло выращиваться до полумиллиона особей в месяц. Использованный для экспериментов по инфицированию насекомых вирус желтой лихорадки был получен от человека, заболевшего в Тринидаде в 1954 г., и размножен путем инфицирования обезьян. Комары, в свою очередь, инфицировались вирусом путем погружения их личинок в сыворотку зараженных обезьян макак-резус. Вирулентность инфицированных комаров проверялась путем заражения ими мышей. Технический комитет Химического корпуса США классифицировал систему «вирус желтой лихорадки — комары A. aegypty» в качестве стандартизованного агента БО в июне 1959 г. Предполагалось использовать его по способу, отработанному во время войны на Корейском полуострове — снаряжая кассетные авиабомбы, сбрасываемые с самолета.

Однако в 1960-х гг. интерес военных к энтомологическому оружию ослаб. Наставление FM 30–10 (1962) наиболее эффективным способом распространения агентов БО считает применение аэрозоля. Частично сложность использования блох, инфицированных возбудителем чумы, для искусственного распространения чумы среди людей мы рассмотрели в разд. 1.8 («Производственные мощности»).

М. Н. Ситников (1968) объяснял утрату интереса к разработке энтомологического оружия следующим образом. Главный недостаток использования насекомых-переносчиков состоит в том, что они не могут быть доставлены к цели без их массовой гибели. Поведение доставленных к цели насекомых-переносчиков не только нельзя проконтролировать, но и как-то предвидеть. Применение переносчиков ограничено определенными метеорологическими и природными условиями, непредвиденных моментов при их изменении может оказаться даже больше, чем при нападении с применением аэрозоля. К тому же массивные дозы биологического агента, достаточные для преодоления у человека искусственного иммунитета, можно создать только при использовании мелкодисперсных аэрозолей. Следовательно, разработчики БО в 1960-х гг. не видели у насекомых никаких преимуществ перед аэрозолями биологических агентов.

Поражение растений. В период с 1951 по 1969 г. в США производились три биоагента-возбудителя болезней сельскохозяйственных растений. Это — возбудители стеблевой ржавчины пшеницы (рецептура ТХ), ржи и возбудитель пирикуляриоза риса (рецептура LX). В течение 1951–1957 гг. споры возбудителя стеблевой ржавчины пшеницы и ржи получали путем заражения посевов на участках государственных опытных станций. Собранный материал отправляли в арсенал Эджвуд (Мэриленд), для классификации, сушки и хранения. Работа была завершена в 1959 г. при участии специалистов ВВС. Споры возбудителя стеблевой ржавчины пшеницы выращивали на государственных опытных плантациях в периоде 1962 по 1969 г. Необработанный материал доставлялся в арсенал Роки Маунтин, где его очищали, классифицировали и хранили в замороженном виде. Все споры возбудителя ржавчины пшеницы были уничтожены к февралю 1978 г.

Возбудителя пирикуляриоза риса получали методом глубинного культивирования по контракту. Контракт на производство был заключен в марте 1965 г. Производство возбудителя пирикуляриоза было прекращено в июне 1966 г. Готовый биоагент упаковывали и хранили в Форт-Детрике Весь запас возбудителя пирикуляриоза риса был уничтожен в период между 17 января и 18 мая 1972 г.

Взгляды на ведение биологической войны. В «Наставлении по боевому применению химического и биологического оружия» (FM 30–10, 1962) БО рассматривается как реально существующее, его поражающие свойства оцениваются выше, чем химического оружия. Согласно FM 30–10, БО должно применяться для поражения противника на территории в несколько тысяч квадратных километров, на которой цели точно не выявлены. Возможность распространения биологических агентов с помощью средств, срабатывающих на значительном расстоянии от района цели и доставка агента к цели благодаря перемещению воздуха, обеспечивает скрытность и внезапность применения БО. Наличие и нкубационного периода между моментом проникновения биологического агента в организм человека и началом болезни обеспечивает замедленное действие БО. Возможность проникновения биологического аэрозоля в различные инженерные сооружения позволяет поражать личный состав вооруженных сил противника, не разрушая этих сооружений, что не может быть достигнуто с помощью фугасных бомб и снарядов и ядерных боеприпасов малого калибра.

Для исключения возможности гибели биологического агента во время хранения, FM 30–10 рекомендует условия регулируемого охлаждения, т. е. то, что в разд. 2.4.2 будет описано как «холодовая цепь». Для избежания гибели микроорганизмов в момент распыления наставлением рекомендуется температура воздуха в районе применения БО около 10 °C, а относительная влажность ниже 85 % (для сухих рецептур). При этом применение БО рекомендуется проводить в темное время суток или в дни с сильной облачностью.

Аэрозоли могут быть образованы при помощи биологических боеприпасов взрывного действия, механических генераторов и распылительных устройств.

Отличительным тактическим свойством БО составители FM 30–10 считали «возможность без значительных затрат поражать живую силу противника на больших площадях». Ее они делили на: личный состав войск противника; гражданское население на территории противника, направляющее свои усилия на повышение боеспособности войск противника; и население на территории занятой противником, вынужденное поддерживать противника, т. е. применение БО считалось целесообразным как против гражданского населения стран, ведущих войну с США, так и против собственного населения (вернее, населения европейских партнеров по НАТО) на оккупированных Советами территориях. Стратегическое и тактическое применение БО должно было планироваться таким образом, чтобы его применение в одном районе не отражалось на эффективности применения в другом районе. Само БО должно применяться только массированно.

Во время тактических наступательных операций БО должно использоваться для поражения личного состава:

а) резервов и поддерживающих подразделений и частей;

б) тыловых подразделений;

в) подразделений, обслуживающих линии связи и коммуникации;

г) транспортных подразделений;

д) учебных подразделений;

е) частей и подразделений, совершающих марш или находящихся на отдыхе;

ж) партизанских отрядов;

з) воздушных и морских десантов.

В обороне БО предполагалось применять против всех подходящих целей во втором эшелоне противника, чтобы ослабить эффективность его наступательных действий.

Стратегическое применение БО предполагало поражение живой силы противника:

а) в городах и поселках городского типа;

б) в промышленных центрах;

в) в районах отдыха, перегруппировки или обучения войск;

г) персонала ПВО;

д) в важнейших портах;

е) на железнодорожных узлах и станциях водоснабжения;

з) в научно-исследовательских центрах;

ж) на нефтепромыслах;

и) в местах пуска ракет.

Применение более одного агента БО считалось более эффективным, так как усиливало поражающее действие БО и затрудняло идентификацию агентов и лечение пораженных.

Конвенция 1972 г. Женевский протокол 1925 г. был, по сути, соглашением между подписавшими его государствами о неприменении БО и химического оружия первыми. Что касается распространения этих видов оружия, то Женевский протокол не предусматривает соглашения по их контролю или разоружению. Он не содержит ограничений по разработке и производству БО и не включает каких-либо предложений по режиму проверки. Таким образом, протокол не был правовым барьером, например, для разработки Англией и США БО в 1940-х гг. Кроме того, Соединенные Штаты стали участниками этого протокола лишь в 1975 г. и применение ими БО во время войны на Корейском полуострове в 1952 г. не было его нарушением.

Действующий в настоящее время режим по ограничению БО, помимо Женевского протокола 1925 г., включает «Конвенцию о запрещении разработки, производства и накопления запасов бактериологического (биологического) и токсинного оружия и их уничтожении» от 1972 г. Конвенция стала результатом интенсивной дипломатической деятельности в конце 1960-х и в начале 1970-х гг. Подробно об истории разработки и подписания Конвенции государствами, имеющими программы в области создания БО, можно прочитать в работе М. Dando (1994).

Уничтожение БО. В соответствии с решением президента США Ричарда Никсона от 25 ноября 1969 г. и рекомендациями Управления вооружений армии США специалисты бывших биологических лабораторий армии США в Форт-Детрике в 1970 г разработали планы уничтожения запасов биологических агентов и снаряженных ими боеприпасов в следующих 4 учреждениях Министерства обороны США:

в арсенале Пайн-Блафф (шт. Арканзас);

в арсенале Роки-Маунтин (шт. Колорадо);

на базе ВВС США Бил (шт. Калифорния);

в биологических лабораториях армии США в Форт-Детрике (шт. Мэриленд).

Часть материалов была оставлена для осуществления научно-исследовательских работ в области биологического оружия, причем в количествах, вполне достаточных для выполнения намеченных программ.

Уничтожению подлежали:

1) запасы биологических агентов для поражения живой силы противника и снаряженные ими боеприпасы на складах отдела биологических операций арсенала Пайн-Блафф;

2) запасы биологических средств поражения сельскохозяйственных растений и снаряженные ими боеприпасы в арсенале Роки-Маунтин, на базе ВВС Бил и в биологических лабораториях армии США в Форт-Детрике.

Кроме того, подлежали уничтожению небольшие запасы биологических агентов для поражения живой силы, биологических средств поражения растений и снаряженных ими боеприпасов, которые были подготовлены для испытаний в Форт-Детрике и на полигоне Дагуэй (шт. Юта).

Работы по уничтожению запасов БО в указанных учреждениях были осуществлены в период с 10 мая 1971 г. по 1 мая 1972 г. Эти работы, включая последующую обработку производственных и складских помещений, лабораторий и оборудования, обошлись в 10,8 млн долл. Несчастных случаев и аварий не было. Методы уничтожения варьировали в зависимости от видов биологических агентов и токсинов. Например, изделия и емкости с рецептурой, содержащей ботулинический токсин или сакситоксин. плавили в печах с температурой около 1100 °C. Рецептуры с высушенными спорами В. anthracis извлекали из боеприпасов, смешивали с 2%-ным раствором каустика и в течение 3 ч прогревали при температуре около 140 °C. Детали расснаряженных боеприпасов и освобожденные контейнеры плавили в печах при 1100 °С. Материалы, полученные после упомянутых операций, нейтрализовали, засевали непатогенными культурами бактерий из почвы, речной воды или стоков и оставляли на биодеструкцию. После биодеструкции растворы еще раз в течение 3 ч стерилизовали при температуре около 140 °C, далее производили проверку на стерильность, пастеризовали при 100–120 °C и сливали в приемники для вторичной биодеструкции. Обработанные таким образом материалы перегружали на выпарные устройства для сушки. Сухие остатки закапывали в землю при помощи дисковых культиваторов.

Разнообразные контейнеры, отдельные детали боеприпасов и тару резали или ломали различными способами, лом прокаливали в печах и плавили при 1100 °C. Металлические остатки боеприпасов собирали, стерилизовали и, убедившись в стерильности, складировали в специально отведенных местах.

После уничтожения запасов биологических агентов и снаряженных ими боеприпасов все производственные и складские помещения, лаборатории и оборудование очищали и дезинфицировали при помощи методов, которые гарантировали последующее безопасное пребывание в них и работу неиммунизированного персонала. Воздуховоды и дренажные галереи минимум 16 ч обрабатывали газообразным формальдегидом. Технологические системы производственных помещений стерилизовали паром с температурой около 120 °C.

Форт-Детрик после уничтожения БО. Он был выведен из подчинения командованию материально-технического обеспечения армии США и переподчинен вновь сформированному медицинскому командованию армии США в Форт-Сэме (Хьюстон, штат Техас). В 1973 г. на территории Форт-Детрик находилось шесть НИУ, предназначенных для выполнения несекретных исследований: Научно-исследовательский центр по изучению рака, USAMRIID, Научно-исследовательская и опытно-конструкторская лаборатория медицинской биотехнологии, Лаборатория ВМФ, Научно-исследовательская лаборатория фитопатологии, Отдел борьбы с вредителями растений — подразделение химической лаборатории арсенала Эджвуд. И еще 11 учреждений, не имеющих отношения к научным исследованиям и выполняющих различные задачи, не связанные с секретностью. Среди них: архив медико-санитарной службы США, Статистико-информационный отдел медико-санитарной службы США. Управление начальника работ по демилитаризации химического имущества командования материально-технического снабжения армии США и различные отделы Министерства жилищного строительства и развития городов и Министерства внутренних дел (Fort Detritk converting…, 1973) Так как США при ежегодных обменах информации в области биологической защиты в соответствии с Конвенцией 1972 г. сообщают только о программах Министерства обороны, то секретные или пользующиеся плохой репутацией программы обычно передаются в ЦРУ, Министерству энергетики или в другие ведомства и подрядные организации (Rosenberg В, Н., 2012).

* * *

«Золотой век» разработчиков БО, начавшийся после окончания войны на Корейском полуострове, закончился в самый разгар «холодной войны» подписанием в 1972 г. «Конвенции о запрещении разработки, производства и накопления запасов бактериологического (биологического) и токсинного оружия и их уничтожении». Хотя тогда политиками было сделано много трогательны): заявлений о приверженности к мир) в котором режим по ограничению БО должен сыграть чуть ли не спасительную роль, но я рискну высказать предположение, что подписание Конвенции было вызвано другими причинами.

Прежде всего, «мощное оружие бедных» стало не по средствам богатым странам. Затраты на его разработку, производство и хранение не оправдывались его эффективностью при боевом применении. Основным препятствием в применении БО традиционного типа стало именно наличие в нем биологического компонента. В том диапазоне размеров частиц аэрозоля, в котором микроорганизмы и биологические токсины могут вызвать поражение людей, не только сами частицы как физические системы ведут себя непредсказуемо, но еще менее предсказуемо ведут они себя как биологические системы. БО не стало в 1960-х гг. оружием массового поражения, сравнимым по эффективности с ядерным. Поглотив миллиарды долларов на исследования, оно осталось оружием шантажа, диверсий и террористических актов. А предназначавшуюся ему нишу оружия, способного уничтожать миллионы людей, не затрагивая создаваемые ими материальные ценности, стали занимать хорошо проверенные виды оружия. Среди них нейтронные ядерные боеприпасы и высокоточное оружие. Изменился и сам характер боевых действий. Столь удобное для применения БО концентрирование больших масс войск на узких участках фронта, которое имело место в годы Второй мировой войны и во время войны на Корейском полуострове, ушло в прошлое. Уже на завершающем этапе вьетнамской войны боевые действия приобрели характер воздушно-наземных операций. При проведении таких операций четко обозначенные линии соприкосновения войск сторон отсутствуют, имеются большие промежутки и разрывы в их оперативном построении. Личный состав, как правило, рассредоточен на большую глубину, укрыт в боевых и специальных машинах и обеспечен совершенными средствами противохимической и противобиологической защиты. Для истребления населения появились новые средства поражения, которые к оружию, в привычном его понимании, отнести сложно — неконтролируемая пандемия ВИЧ/ СПИДа, информационные и сетевые технологии, наркотизация населения и другие.

Более 800 000 книг и аудиокниг! 📚

Получи 2 месяца Литрес Подписки в подарок и наслаждайся неограниченным чтением

ПОЛУЧИТЬ ПОДАРОК